授权公布号:CN207951182U
一种兽药生产循环混药装置
有效
申请
2017-12-25
申请公布
1970-01-01
授权
2018-10-12
预估到期
2027-12-25
| 申请号 | CN201721824265.9 |
| 申请日 | 2017-12-25 |
| 授权公布号 | CN207951182U |
| 授权公告日 | 2018-10-12 |
| 分类号 | B01F7/04;B01F5/10;B01F15/06 |
| 分类 | 一般的物理或化学的方法或装置; |
| 申请人名称 | 四川成康动物药业有限公司 |
| 申请人地址 | 四川省广元市剑阁县下寺镇剑门工业园区 |
专利法律状态
2018-10-12
授权
状态信息
授权
摘要
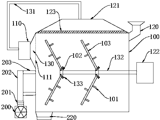
本实用新型公开了一种兽药生产循环混药装置,包括混料筒,混料筒顶部设有吸料罩,吸料罩上连接有吸料管,吸料管另一端部设有抽吸机,抽吸机上连接有抽吸口,抽吸口另一端与混料筒连通;混料筒侧壁设有投料口,投料口下方设有电机,电机连接有混料轴,混料轴上设有搅拌叶片,搅拌叶片上设有混料杆;混料筒的桶壁设有热风进风管,热风进风管与电热筒连接,电热筒上部设有电热管,电热管上部设有进风机。本实用新型通过将混料筒在投料和混料过程中上扬的粉末药物进行汇集回收再利用,既防止粉末状药物散于空气中对环境造成污染,影响工作人员的身体健康,又可以减少由于药物的散失造成的物料配比的误差,提高混料产品的质量。


