授权公布号:CN108545244B
一种封装机、一种卷膜包装装置及包装方法
有效
申请
2018-05-17
申请公布
2018-09-18
授权
2023-12-15
预估到期
2038-05-17
| 申请号 | CN201810472521.5 |
| 申请日 | 2018-05-17 |
| 申请公布号 | CN108545244A |
| 申请公布日 | 2018-09-18 |
| 授权公布号 | CN108545244B |
| 授权公告日 | 2023-12-15 |
| 分类号 | B65B31/04;B65B51/10 |
| 分类 | 输送;包装;贮存;搬运薄的或细丝状材料; |
| 申请人名称 | 洽洽食品股份有限公司 |
| 申请人地址 | 安徽省合肥市经济技术开发区莲花路1307号 |
专利法律状态
2023-12-15
授权
状态信息
授权
2018-10-16
实质审查的生效
状态信息
实质审查的生效;IPC(主分类):B65B31/04;申请日:20180517
2018-09-18
公布
状态信息
公布
摘要
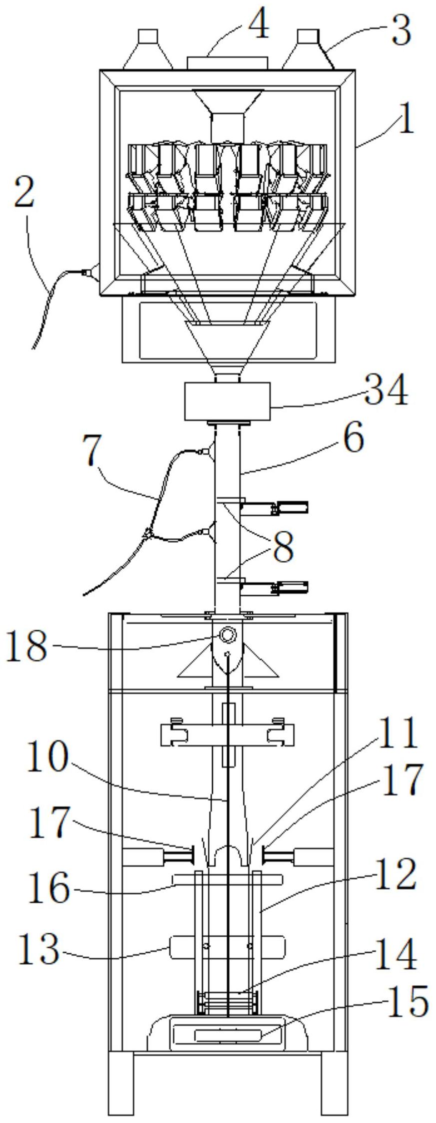
本发明公开了一种封装机、一种卷膜包装装置及包装方法,属于食品包装技术领域。封装机包括下料管、补氮管,以及安装在支撑杆上的拉膜机构、袋型限位机构和热封块,且所述热封块内设置有切刀;所述拉膜机构、所述袋型限位机构和所述热封块由上至下依次设置且均位于所述下料管的出料口的正下方,包装卷膜环设在所述下料管的外周且向下延伸,所述补氮管位于所述包装卷膜内,所述补氮管的进气端与氮气源连通,且所述补氮管的排气端延伸至所述热封块的上沿。本发明能在不投入除氧剂、抗氧化剂等条件下,使包装产品袋内残氧含量控制在1%以内,解决了目前坚果炒货用包装机封装后产品包装袋内残氧含量过高的问题,有助于延长食品保质期。


