授权公布号:CN212370165U
一种切削油加工自清洁反应釜
有效
申请
2020-03-31
申请公布
1970-01-01
授权
2021-01-19
预估到期
2030-03-31
| 申请号 | CN202020435777.1 |
| 申请日 | 2020-03-31 |
| 授权公布号 | CN212370165U |
| 授权公告日 | 2021-01-19 |
| 分类号 | B01J19/18 |
| 分类 | 一般的物理或化学的方法或装置; |
| 申请人名称 | 涵麟化学科技(上海)有限公司 |
| 申请人地址 | 上海市金山区金山卫镇秋实路688号1号楼3单元385室C座 |
专利法律状态
2021-01-19
授权
状态信息
授权
摘要
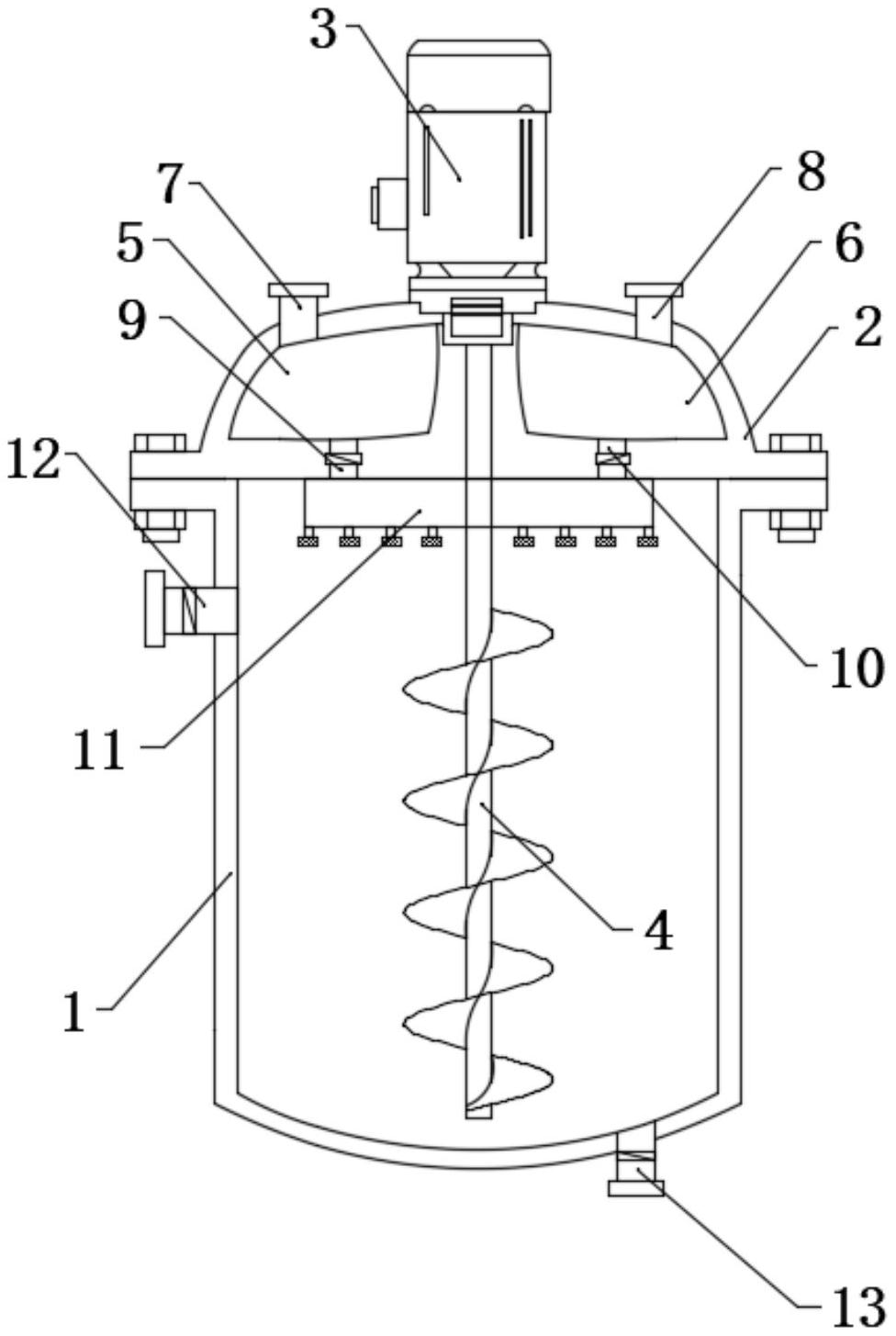
本实用新型公开了一种切削油加工自清洁反应釜,包括罐体,罐体的上方设有罐盖,罐盖的顶部设有电机,罐盖的中部贯穿设有搅拌轴,搅拌轴的一端与电机的输出端连接;所述罐盖内部的两侧分别设有第一腔体和第二腔体,罐盖顶端的两侧分别设有第一进液口和第二进液口,第一进液口与第一腔体连通,第二进液口与第二腔体连通,第一腔体的底部设有第一通道,第二腔体的底部设有第二通道,罐盖的底部设有喷淋装置;所述喷淋装置呈圆环状,喷淋装置的内部设有第三腔体,喷淋装置的底部设有多个喷淋头,喷淋头与第三腔体连通。本实用新型通过整体结构设置,方便清洁反应釜,提高切削油生产质量,节约劳动力。


