授权公布号:CN212370045U
一种清洗剂原料分散装置
有效
申请
2020-03-31
申请公布
1970-01-01
授权
2021-01-19
预估到期
2030-03-31
| 申请号 | CN202020435784.1 |
| 申请日 | 2020-03-31 |
| 授权公布号 | CN212370045U |
| 授权公告日 | 2021-01-19 |
| 分类号 | B01F11/00 |
| 分类 | 一般的物理或化学的方法或装置; |
| 申请人名称 | 涵麟化学科技(上海)有限公司 |
| 申请人地址 | 上海市金山区金山卫镇秋实路688号1号楼3单元385室C座 |
专利法律状态
2021-01-19
授权
状态信息
授权
摘要
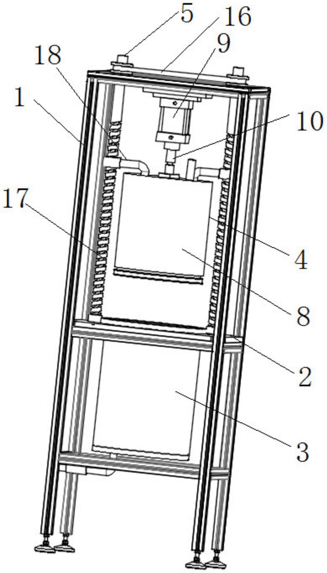
本实用新型公开了一种清洗剂原料分散装置,包括型材架,型材架上设有分隔固定板,分隔固定板的下方固定设有加热单元,分隔固定板的上方设有物料投入搅拌单元,物料投入搅拌单元上设有传动装置;所述加热单元下端设有出料管,加热单元中心开设有内胆放置槽;所述物料投入搅拌单元包括与内胆放置槽相配合的内胆,内胆上方设有输出电机,输出电机的输出端连接设有沿内胆中心轴线竖直贯通设置在内胆内的转轴,内胆上方设有物料进口;本实用新型的清洗剂原料分散装置可实现加热和搅拌的功能,大大地提高物料搅拌的效率,使得聚合物可以彻底分散,提高后续的反应效率,以及稳定性和使用效果。


