授权公布号:CN108992973B
浮油收集装置
有效
申请
2018-08-06
申请公布
2018-12-14
授权
2020-09-01
预估到期
2038-08-06
| 申请号 | CN201810885196.5 |
| 申请日 | 2018-08-06 |
| 申请公布号 | CN108992973A |
| 申请公布日 | 2018-12-14 |
| 授权公布号 | CN108992973B |
| 授权公告日 | 2020-09-01 |
| 分类号 | B01D17/032 |
| 分类 | 一般的物理或化学的方法或装置; |
| 申请人名称 | 广州市方川润滑科技有限公司 |
| 申请人地址 | 广东省广州市黄埔区兴达路8号2栋101 |
专利法律状态
2021-02-12
专利权质押合同登记的生效、变更及注销
状态信息
专利权质押合同登记的生效、变更及注销
2020-09-01
授权
状态信息
授权
2019-01-08
实质审查的生效
状态信息
实质审查的生效IPC(主分类):B01D 17/032
2018-12-14
公布
状态信息
公布
摘要
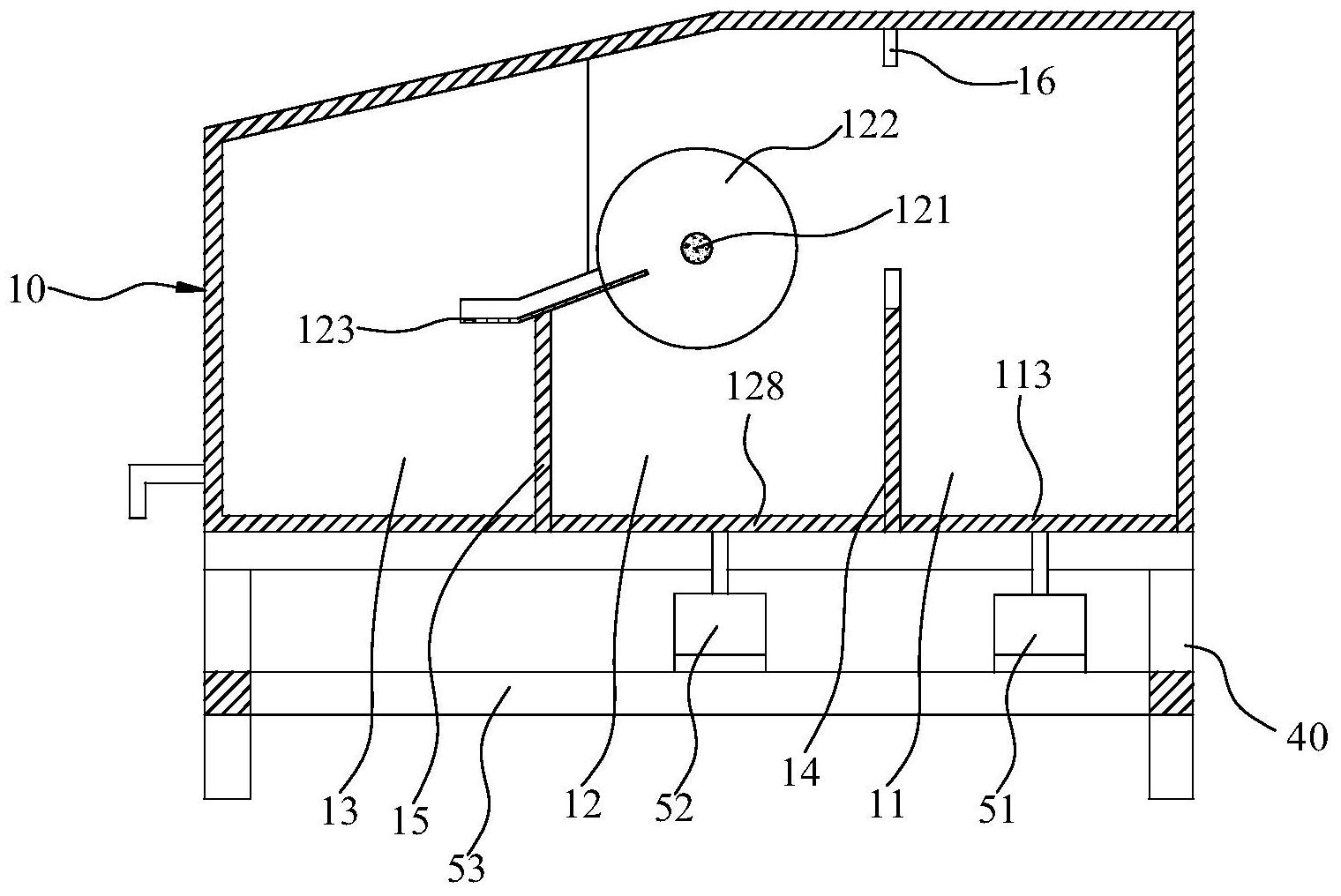
本发明公开一种浮油收集装置,包括:箱体,箱体内设有一级分离腔、二级分离腔和储油腔;刮油装置,包括刮油板和驱动装置,二级分离腔内设有与驱动装置连接的转轴,转轴上设有若干转盘,第二隔板上端设有刮油板,刮油板设有与转盘两侧紧密配合的让位槽,刮油板远离让位槽的一侧延伸至储油腔内,驱动装置可驱动转盘沿设定方向转动;第一升降装置,可与第一腔底板的外侧连接、并可驱动第一腔底板沿第一腔壁上下移动;第二升降装置,可与第二腔底板的外侧连接、并可驱动第二腔底板沿第二腔壁上下移动。本发明具有切削液回收利用率高、浮油分离效率高的优点,并能保护生态环境,提高机床工作效率和产品加工良率。


