授权公布号:CN212292743U
一种切削液生产用灌装装置
有效
申请
2020-06-09
申请公布
1970-01-01
授权
2021-01-05
预估到期
2030-06-09
| 申请号 | CN202021041099.7 |
| 申请日 | 2020-06-09 |
| 授权公布号 | CN212292743U |
| 授权公告日 | 2021-01-05 |
| 分类号 | B67C3/00;B67C3/24;B67C3/26 |
| 分类 | 开启或封闭瓶子、罐或类似的容器;液体的贮运; |
| 申请人名称 | 安徽鑫诺斯润滑科技有限公司 |
| 申请人地址 | 安徽省合肥市肥东县龙塘镇工业园区 |
专利法律状态
2021-01-05
授权
状态信息
授权
摘要
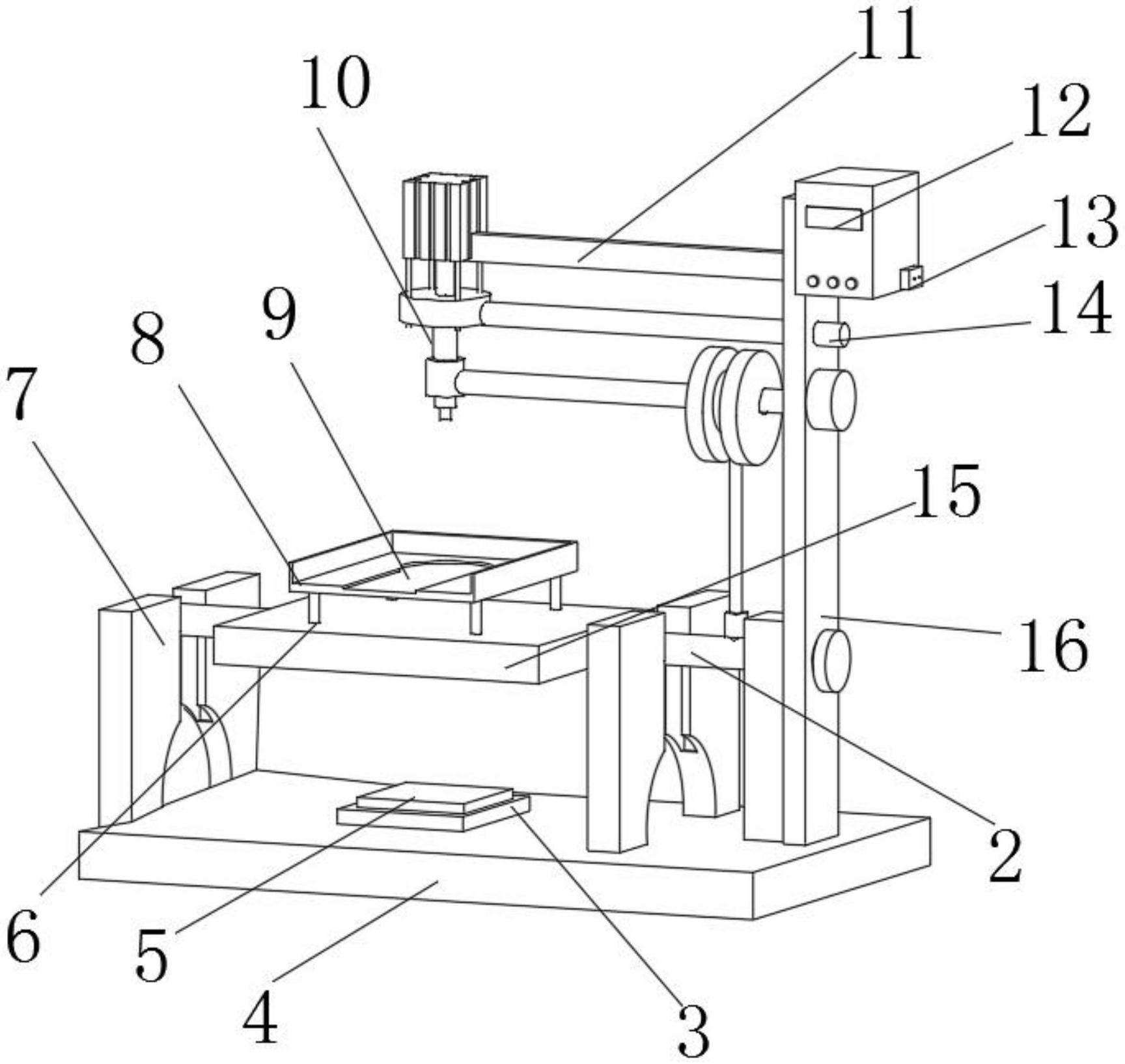
本实用新型公开了一种切削液生产用灌装装置,包括底座,所述底座上端中部固定连接有压板,所述压板上端固定连接有感应器,所述底座上端左部和上端右部均固定连接有滑动装置,所述两个滑动装置之间共同活动连接有平衡杆,所述平衡杆外表面中部固定连接有横板,所述横板的上端固定连接四个支撑柱,四个所述支撑柱上端共同固定连接有托盘,所述平衡杆的右部固定连接有定量装置,所述定量装置上部固定连接有输料管,所述定量装置右部固定连接有控制箱,所述输料管左端穿插连接有灌装装置,所述灌装装置和定量装置固定连接有拉杆。本实用新型所述的一种切削液生产用灌装装置,通过设置灌装装置和定量装置,结构简单牢固,灵活性强,安全性能高。


