授权公布号:CN215199840U
一种辊式加张平台
有效
申请
2021-08-03
申请公布
1970-01-01
授权
2021-12-17
预估到期
2031-08-03
| 申请号 | CN202121792677.5 |
| 申请日 | 2021-08-03 |
| 授权公布号 | CN215199840U |
| 授权公告日 | 2021-12-17 |
| 分类号 | B23D15/04;B23D33/00;B23D33/02 |
| 分类 | 机床;不包含在其他类目中的金属加工; |
| 申请人名称 | 天津海钢板材有限公司 |
| 申请人地址 | 天津市静海区双塘高档五金制品产业园 |
专利法律状态
2021-12-17
授权
状态信息
授权
摘要
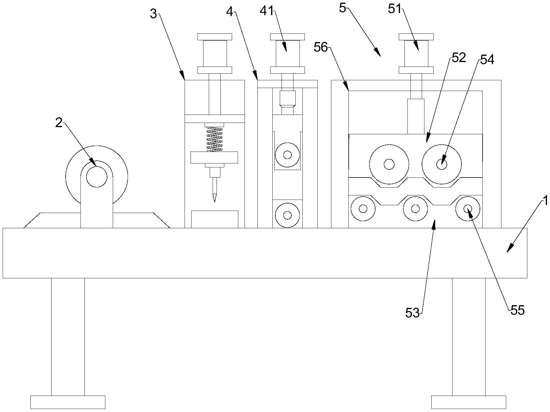
本实用新型提供了一种辊式加张平台,包括平台,所述的平台上依次设置有导向辊、剪板机构、定位机构、张力机构,所述的张力机构包括张力气缸、张力升降架、支撑架、张力固定架,所述的支撑架固定于所述的张力固定架的底部,所述的张力升降架位于所述的张力支撑架的上方,所述的张力气缸穿过所述的张力固定架与所述的张力升降架相连,所述的张力支撑架上设置有3个下张力辊,所述的张力升降架上设置有2个上张力辊,所述的下张力辊与所述的上张力辊交错设置。本实用新型所述的辊式加张平台设置有5辊的五辊的辊式张力机构,通过控制张力辊的速度与半径,可防止划伤带钢,增加带钢卷曲张力,保证带钢在卷曲时卷形的整齐度,防止带钢跑偏。


