授权公布号:CN218693985U
冗余自调浮动夹持车床卡盘
有效
申请
2022-10-31
申请公布
1970-01-01
授权
2023-03-24
预估到期
2032-10-31
| 申请号 | CN202222880910.6 |
| 申请日 | 2022-10-31 |
| 授权公布号 | CN218693985U |
| 授权公告日 | 2023-03-24 |
| 分类号 | B23B31/12 |
| 分类 | 机床;不包含在其他类目中的金属加工; |
| 申请人名称 | 哈挺机床(上海)有限公司 |
| 申请人地址 | 上海市浦东新区康桥工业区康桥东路1388号5号厂房 |
专利法律状态
2023-03-24
授权
状态信息
授权
摘要
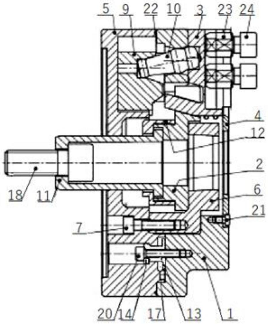
冗余自调浮动夹持车床卡盘,卡盘盖(5)、卡盘活塞(2)、卡盘支架(6)以及卡盘主体(1)中部分别开轴孔,依次同轴连接,在卡盘主体(1)外端面周缘安装卡爪基座(3),卡爪基座(3)上安装有滑块(23),卡盘活塞(2)局部外缘与卡爪基座(3)局部内缘具有相互配合的倾斜接触面;滑块(23)通过卡爪螺栓(24)滑动安装在卡盘主体(1)外端面边缘;兼顾卡爪夹持刚性与零件的自由度。三个卡爪径向移动的距离不同,有效实现浮动卡紧,配合间隙合理,提高浮动量,增强滑块和卡爪偏摆功能,整个卡盘夹持系统允许冗余量且不影响其正常工作。改善了卡盘的柔性连接受力状况,提高生产效率的同时,可降低和减少工件的加工余量和工件的位置精度。


