授权公布号:CN213753606U
一种智能型抽屉式开关柜
有效
申请
2020-10-22
申请公布
1970-01-01
授权
2021-07-20
预估到期
2030-10-22
| 申请号 | CN202022375334.0 |
| 申请日 | 2020-10-22 |
| 授权公布号 | CN213753606U |
| 授权公告日 | 2021-07-20 |
| 分类号 | H02B1/36;H02B1/56 |
| 分类 | 发电、变电或配电; |
| 申请人名称 | 杭州耐立电气有限公司 |
| 申请人地址 | 浙江省杭州市余杭区兴国路525号1幢4层 |
专利法律状态
2021-07-20
授权
状态信息
授权
摘要
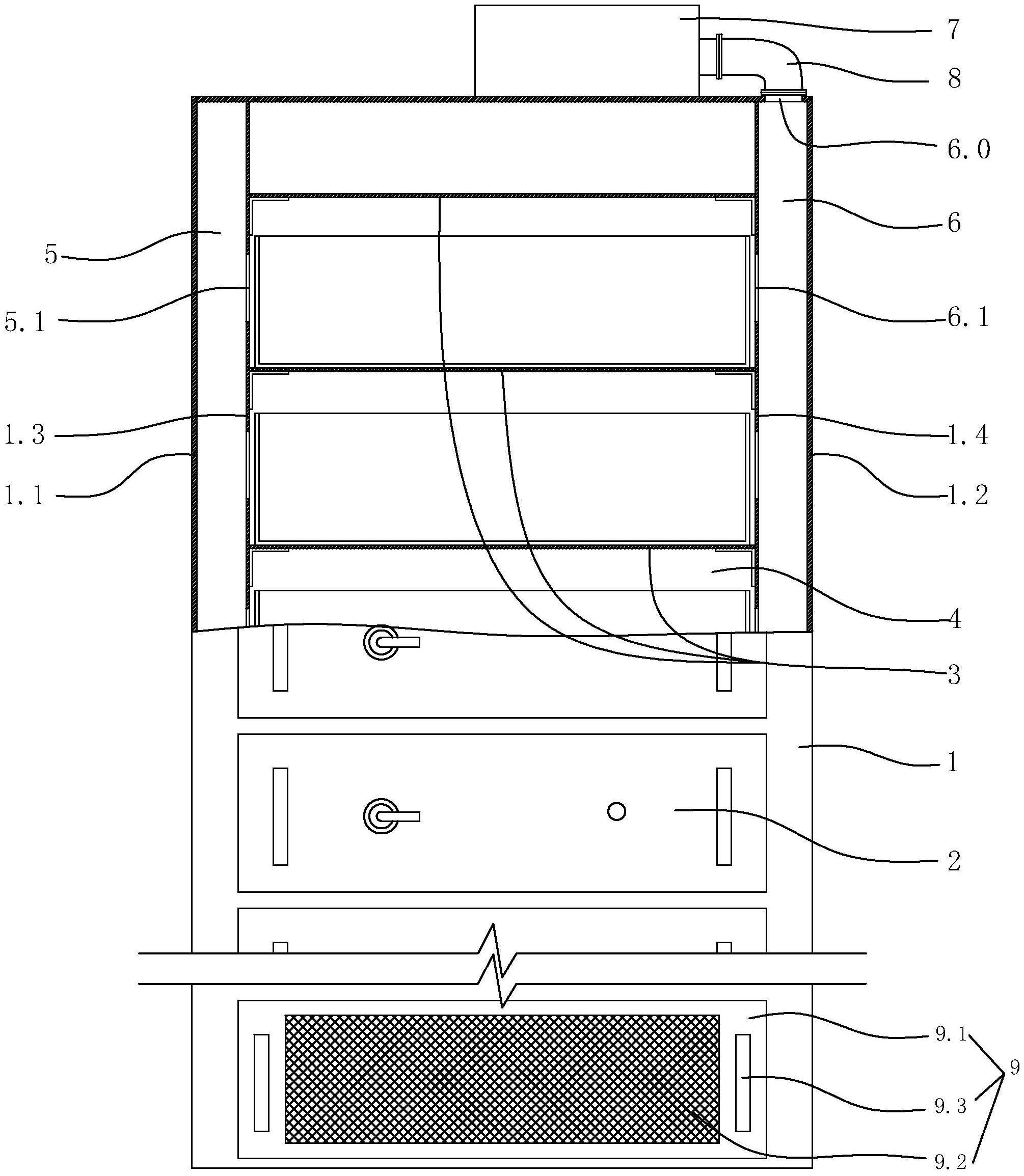
本实用新型公开了一种智能型抽屉式开关柜,旨在提供一种散热效果好,能够对每一个抽屉单元进行散热的智能型抽屉式开关柜。它包括柜体,柜体内设有若干自上而下依次分布的横向隔板;若干自上而下依次分布的抽屉;若干温度检测传感器;通道组件,通道组件包括呈上下延伸的进风通道及呈上下延伸的排风通道,抽屉容纳腔体位于进风通道与排风通道之间;位于最下的横向隔板与柜体的底壁之间具有空腔,该空腔构成进风腔体,进风通道的下端与进风腔体之间通过下进风口相连通,柜体前侧面的下部设有前出入口;推拉式防尘装置,推拉式防尘装置包括推拉套体,推拉套体的第一端的端口设有过滤网板,推拉套体的第二端由前出入口插入进风腔体。


