授权公布号:CN216921715U
一种双控玻璃门电子锁
有效
申请
2022-01-28
申请公布
1970-01-01
授权
2022-07-08
预估到期
2032-01-28
| 申请号 | CN202220242612.1 |
| 申请日 | 2022-01-28 |
| 授权公布号 | CN216921715U |
| 授权公告日 | 2022-07-08 |
| 分类号 | E05B47/00;E05B1/00;E05B49/00;G07C9/00 |
| 分类 | 锁;钥匙;门窗零件;保险箱; |
| 申请人名称 | 中山市爱而福德电子科技有限公司 |
| 申请人地址 | 广东省中山市小榄镇德来北路十横街3号 |
专利法律状态
2022-07-08
授权
状态信息
授权
摘要
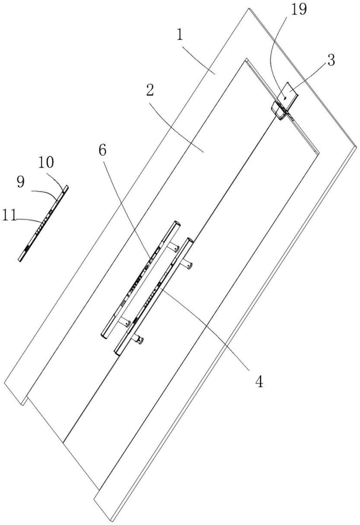
本发明公开了一种双控玻璃门电子锁,包括固定在门框上且处于玻璃门叶顶部的电子锁体,外把手和内把手,外把手内固定有第一控制电路板、第一信号收发器和第一供电电源,外把手上还设置有指纹识别器、脸部识别器和密码按键,电子锁体内固定有第二控制电路板、第二信号收发器和第二供电电源,内把手内固定有第三控制电路板、第三信号收发器和第三供电电源,第一信号收发器、第二信号收发器和第三信号收发器通过无线信号连接。本发明的结构设置合理,其外把手、内把手和电子锁体通过第一信号收发器、第二信号收发器和第三信号收发器进行无线连接,可以减少导线的使用,方便进行拆分式安装在不同的位置,提高了使用的便捷性,适用性强且实用性好。


