授权公布号:CN217337790U
一种便携式的家居茶几
有效
申请
2022-05-25
申请公布
1970-01-01
授权
2022-09-02
预估到期
2032-05-25
| 申请号 | CN202221268011.4 |
| 申请日 | 2022-05-25 |
| 授权公布号 | CN217337790U |
| 授权公告日 | 2022-09-02 |
| 分类号 | A47B31/04 |
| 分类 | 家具;家庭用的物品或设备;咖啡磨;香料磨;一般吸尘器; |
| 申请人名称 | 四川伊恋家居用品有限公司 |
| 申请人地址 | 四川省成都市彭州工业开发区天彭镇旌旗西路39号 |
专利法律状态
2022-09-02
授权
状态信息
授权
摘要
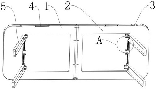
本实用新型属于家居技术领域,尤其是一种便携式的家居茶几,针对现有的家具不便于收纳,家居空间利用率不高,不便携带的问题,现提出如下方案,其包括第一台面,所述第一台面一侧铰接有第二台面,所述第一台面与第二台面底部中间均开设有方形槽,所述第一台面与第二台面方形槽内各铰接有两个支撑脚,所述第一台面与第二台面一侧底部分别开有一个凹形槽,凹形槽内设有用于对第一台面和第二台面折叠相固定的锁紧组件。本实用新型结构简单,使用比较方便,可以折叠,易携带,方便人们外出旅游使用,体积不小,占有空间小,便于收纳,使得家居空间利用率大大提高。


