授权公布号:CN220512138U
一种坚果开口设备
有效
申请
2023-07-18
申请公布
1970-01-01
授权
2024-02-23
预估到期
2033-07-18
| 申请号 | CN202321887334.6 |
| 申请日 | 2023-07-18 |
| 授权公布号 | CN220512138U |
| 授权公告日 | 2024-02-23 |
| 分类号 | A23N5/00 |
| 分类 | 其他类不包含的食品或食料;及其处理; |
| 申请人名称 | 洽洽食品股份有限公司 |
| 申请人地址 | 安徽省合肥市经济技术开发区莲花路1307号 |
专利法律状态
2024-02-23
授权
状态信息
授权
摘要
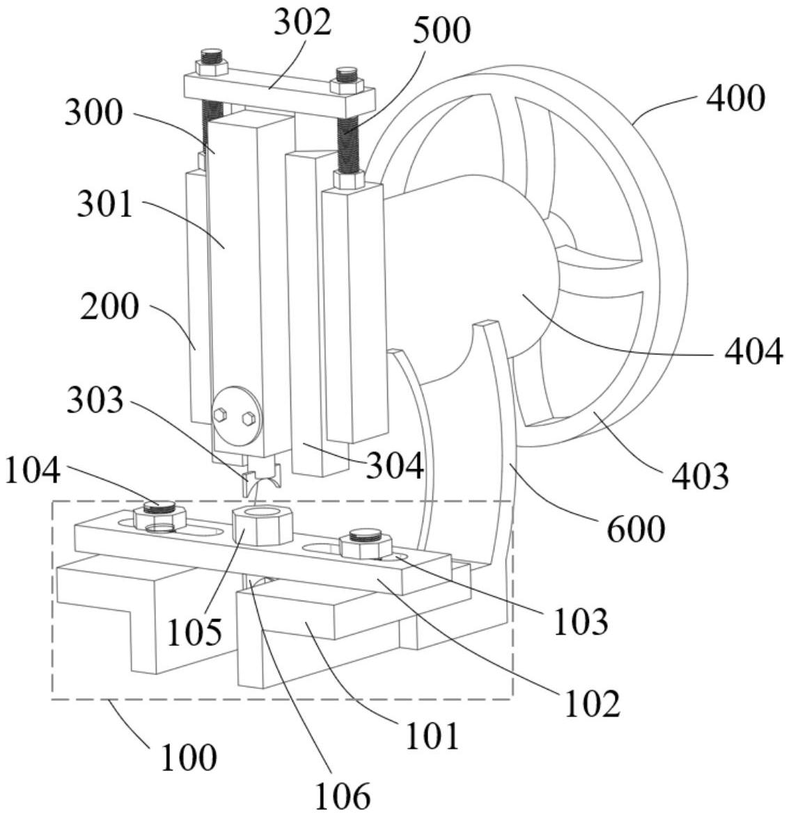
本实用新型公开了一种坚果开口设备,属于坚果加工设备技术领域,包括承托部件、开口部件、驱动部件和长度可调的限位部件;所述承托部件用于承托坚果,所述驱动部件驱动开口部件向承托部件所在方向滑动;所述限位部件调节自身长度控制开口部件到承托部件的滑动距离。本实用新型的限位部件调节自身长度控制开口部件到承托部件的滑动距离,则开口装置在向坚果的进刀距离能够改变,从而可以控制开口部件在坚果外壳上切口的深浅。


