授权公布号:CN211525344U
一种滑动调节装置
有效
申请
2019-08-20
申请公布
1970-01-01
授权
2020-09-18
预估到期
2029-08-20
| 申请号 | CN201921349231.8 |
| 申请日 | 2019-08-20 |
| 授权公布号 | CN211525344U |
| 授权公告日 | 2020-09-18 |
| 分类号 | F16C29/10;F16C29/04 |
| 分类 | 工程元件或部件;为产生和保持机器或设备的有效运行的一般措施;一般绝热; |
| 申请人名称 | 山东宝德龙健身器材有限公司 |
| 申请人地址 | 山东省德州市宁津县开发区长江大街南泰山路东 |
专利法律状态
2020-09-18
授权
状态信息
授权
摘要
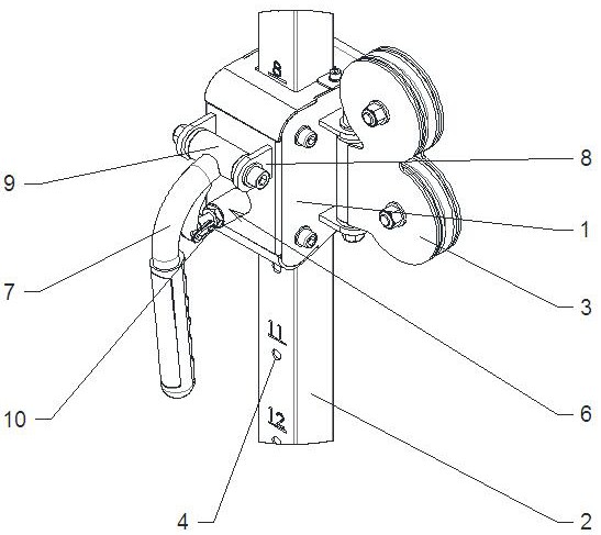
本实用新型属于健身设备领域,具体涉及一种改进的滑动调节装置。该滑动调节装置包括一侧开设定位孔的滑动架,以及与该定位孔相匹配的插销轴,还包括L形调节把手,该调节把手的一个臂的自由端与该滑动架旋转连接,另一个臂基本沿着该滑动架的运动方向延伸;该插销轴远离该滑动架的一端与该调节把手铰接,当该调节把手旋转时,该插销轴在该调节把手的带动下抽出或插入该定位孔。采用该滑动调节装置能够避免单纯使用手指发力所导致的发力困难或手指损伤,提高了设备使用的舒适性;也能够实现单手调节滑动块位置、提高了设备使用的便利性,避免了卡滞等问题。


