授权公布号:CN209715509U
一种喷涂废料回收处理装置
有效
申请
2019-04-12
申请公布
1970-01-01
授权
2019-12-03
预估到期
2029-04-12
| 申请号 | CN201920489801.7 |
| 申请日 | 2019-04-12 |
| 授权公布号 | CN209715509U |
| 授权公告日 | 2019-12-03 |
| 分类号 | B05B14/00 |
| 分类 | 一般喷射或雾化;对表面涂覆液体或其他流体的一般方法〔2〕; |
| 申请人名称 | 重庆明治百通机械制造股份有限公司 |
| 申请人地址 | 重庆市荣昌区板桥工业园区 |
专利法律状态
2019-12-03
授权
状态信息
授权
摘要
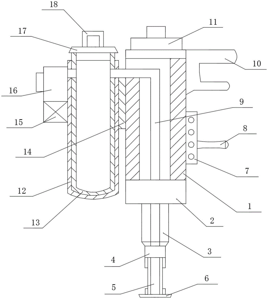
本实用新型涉及涂料处理技术领域,尤其为一种喷涂废料回收处理装置,包括回收筒、加热座和料筒,所述回收筒的下端面固定设置有安装座,所述回收筒的左侧固定设置安装有料筒座,所述安装座的下端面固定连接有加热座,所述加热座的下端面固定连接有固定座,所述固定座的下端面固定设置吸管,所述吸管的下端面螺纹连接有加热头,所述吸管的上端面密封连接有内置吸管,所述回收筒的右侧面固定设置有调节板,所述料筒座的左侧面固定安装有料筒,所述料筒的内部滑动设置有内料筒,通过设置的拆卸式连接头,有效提高了喷涂废料在加热融化的速度;通过设置料筒和内料筒的滑动配合,先将融化废料储存到内料筒中,避免了废料的二次污染。


