授权公布号:CN209681954U
一种机器人用喷砂清理结构
有效
申请
2019-04-19
申请公布
1970-01-01
授权
2019-11-26
预估到期
2029-04-19
| 申请号 | CN201920540319.1 |
| 申请日 | 2019-04-19 |
| 授权公布号 | CN209681954U |
| 授权公告日 | 2019-11-26 |
| 分类号 | B24C3/02;B24C9/00 |
| 分类 | 磨削;抛光; |
| 申请人名称 | 重庆明治百通机械制造股份有限公司 |
| 申请人地址 | 重庆市荣昌区板桥工业园区 |
专利法律状态
2019-11-26
授权
状态信息
授权
摘要
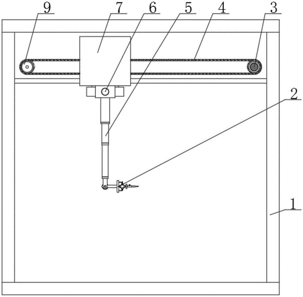
本实用新型涉及喷砂技术领域,尤其为一种机器人用喷砂清理结构,包括喷砂房和储料箱,所述喷砂房的内侧前后两端的右侧均固定连接有第一电机,所述第一电机的转轴外侧转动连接有链轮,所述链轮的外侧啮合连接有链条,所述链条的底端外侧固定连接有连接块,所述连接块的底端固定连接有固定板,位于前端面的所述固定板的前端面固定连接有滑竿,位于前端面的所述固定板的后端面固定连接有伺服电机,所述伺服电机的后端面转轴的外侧转动连接有丝杆,所述丝杆的外侧滑动连接有滚珠,通过设置的高压喷头、电动伸缩杆和滚珠,可以带动连接管与高压喷头进行转动,便可以增加喷砂的面积,提高了喷砂的工作效率,更加有利于对该装置进行使用。


