授权公布号:CN216441977U
一种适用于转子装配线中槽楔装配的压装装置
有效
申请
2021-12-08
申请公布
1970-01-01
授权
2022-05-06
预估到期
2031-12-08
| 申请号 | CN202123072108.6 |
| 申请日 | 2021-12-08 |
| 授权公布号 | CN216441977U |
| 授权公告日 | 2022-05-06 |
| 分类号 | B23P19/02 |
| 分类 | 机床;不包含在其他类目中的金属加工; |
| 申请人名称 | 格劳博机床(中国)有限公司 |
| 申请人地址 | 辽宁省大连市经济技术开发区铁山东路105号 |
专利法律状态
2022-05-06
授权
状态信息
授权
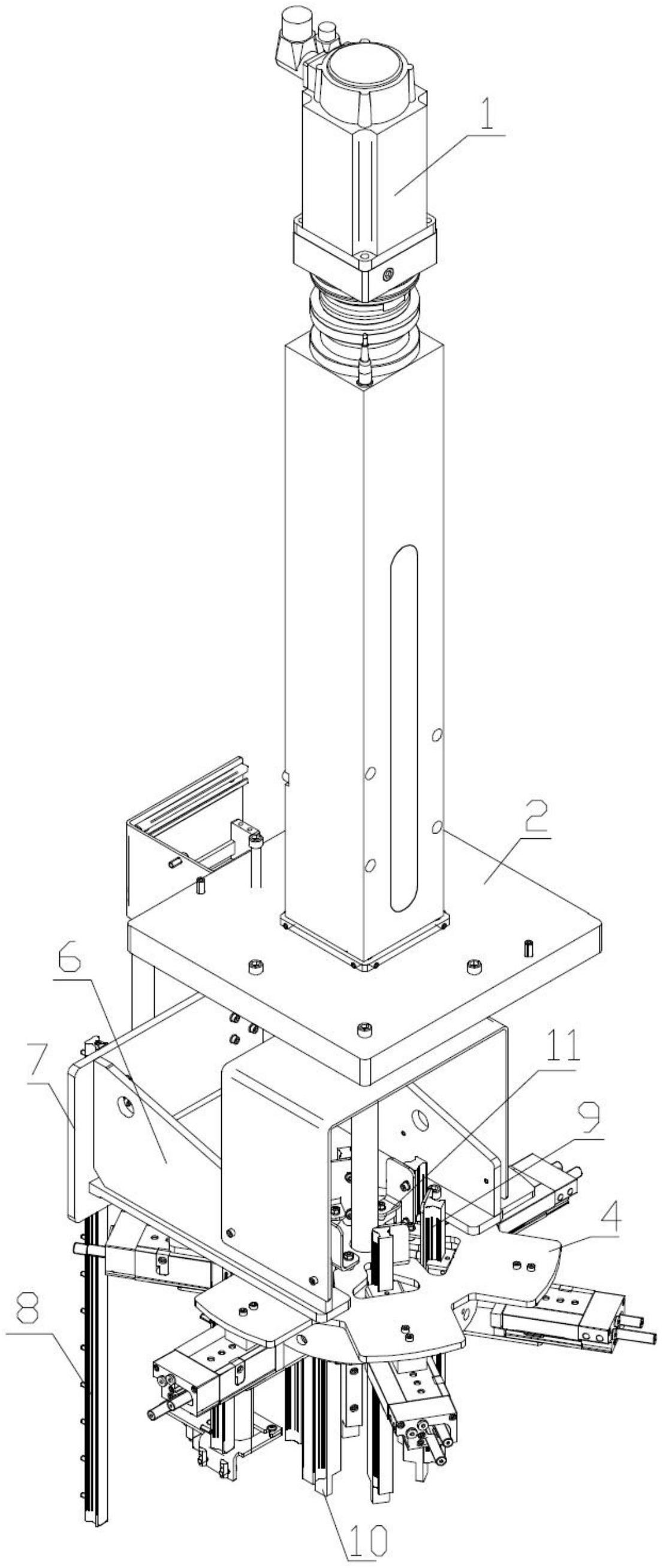
摘要
本实用新型公开了一种适用于转子装配线中槽楔装配的压装装置,属于转子装配技术领域。伺服压机通过固定板固定在固定架上,伺服压机输出轴底端连接下板,下板连接上板,下板设有弧形侧板,所述弧形侧板顶部与上板连接,上板通过连接架与立板连接,立板上固定有导轨a,所述导轨a滑动连接固定于固定架上的滑块a,弧形侧板内壁均布若干滑块b,贯穿上板和下板的导轨b滑动连接所述滑块b,压头固定在导轨b底部,所述上板上设有用于控制压头的自锁机构。本实用新型的有益效果是:利用伺服压机带动压头进行槽楔装配,提高效率降低人力成本;设置自锁装置,保证每次一个压头进行压装作业,方便对压头压力大小和行走位移的检测。


