授权公布号:CN210654921U
封闭式无轴螺旋输送装置
有效
申请
2019-09-23
申请公布
1970-01-01
授权
2020-06-02
预估到期
2029-09-23
| 申请号 | CN201921587505.7 |
| 申请日 | 2019-09-23 |
| 授权公布号 | CN210654921U |
| 授权公告日 | 2020-06-02 |
| 分类号 | B65G33/14 |
| 分类 | 输送;包装;贮存;搬运薄的或细丝状材料; |
| 申请人名称 | 亿利洁能股份有限公司 |
| 申请人地址 | 内蒙古自治区鄂尔多斯市东胜区鄂尔多斯西街亿利大厦二层30号 |
专利法律状态
2020-06-02
授权
状态信息
授权
摘要
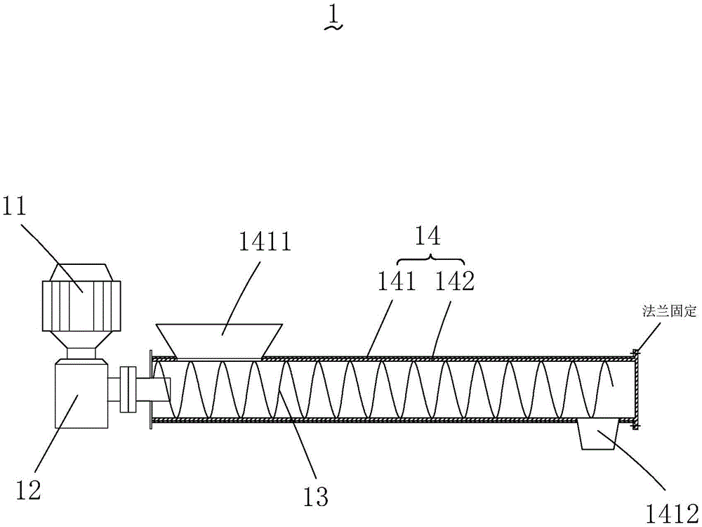
本实用新型涉及一种封闭式无轴螺旋输送装置,其包括依次连接的驱动装置、减速器和螺旋绞龙,所述螺旋绞龙设于输料筒内,所述输料筒的横截面呈圆形,所述输料筒包括输料筒本体和内衬,所述输料筒本体的一端设有进料斗,另一端设有出料口,所述输料筒本体内的底部及两侧均设有导向槽,所述内衬的底部及两侧设有与所述导向槽向配合的凸筋,所述内衬通过导向槽及凸筋的导向进行定位安装。本实用新型采用的输料筒设计成封闭式的圆筒结构,输送过程无扬尘,且其内设有的内衬具有良好的耐磨性,提高了设备的耐磨性,所述内衬采用凸筋与导向槽进行定位安装,且采用法兰盘与输料筒本体连接,方便拆卸更换,也便于清理设备,降低了设备故障率。


