授权公布号:CN212232396U
一种收落保温毡的后墙固定式卷毡机大棚
有效
申请
2020-05-12
申请公布
1970-01-01
授权
2020-12-29
预估到期
2030-05-12
| 申请号 | CN202020783739.5 |
| 申请日 | 2020-05-12 |
| 授权公布号 | CN212232396U |
| 授权公告日 | 2020-12-29 |
| 分类号 | A01G9/22;A01G9/14 |
| 分类 | 农业;林业;畜牧业;狩猎;诱捕;捕鱼; |
| 申请人名称 | 青岛沃林蓝莓果业有限公司 |
| 申请人地址 | 山东省青岛市胶南市铁橛山路1887号 |
专利法律状态
2020-12-29
授权
状态信息
授权
摘要
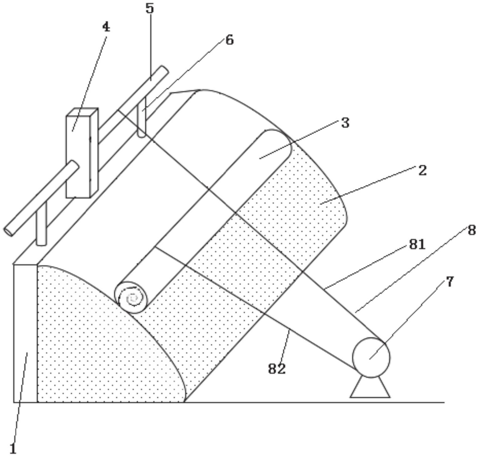
本实用新型涉及大棚领域,具体提供一种收落保温毡的后墙固定式卷毡机大棚,包括后墙,靠在后墙上的大棚主体,使用时覆盖在大棚主体上的保温毡,保温毡内卷有卷毡杆。后墙顶部通过立柱固定有拉绳卷杆,后墙顶部放置有电机,拉绳卷杆与电机相连。拉绳卷杆上缠绕有落毡拉绳,落毡拉绳与固定于地面的定滑轮相连,落毡拉绳在定滑轮处改变方向,另一端系在卷毡杆上,随卷毡杆一同卷于保温毡中。解决当大棚主体坡面过于平缓时,仅依靠保温毡自重不足以克服阻力下落的问题。


