授权公布号:CN206061920U
一种捕捉活体果蝇的装置
有效
申请
2016-09-30
申请公布
1970-01-01
授权
2017-04-05
预估到期
2026-09-30
| 申请号 | CN201621100433.5 |
| 申请日 | 2016-09-30 |
| 授权公布号 | CN206061920U |
| 授权公告日 | 2017-04-05 |
| 分类号 | A01M1/02 |
| 分类 | 农业;林业;畜牧业;狩猎;诱捕;捕鱼; |
| 申请人名称 | 青岛沃林蓝莓果业有限公司 |
| 申请人地址 | 山东省青岛市黄岛区张家楼镇龙潭路1号 |
专利法律状态
2017-04-05
授权
状态信息
授权
摘要
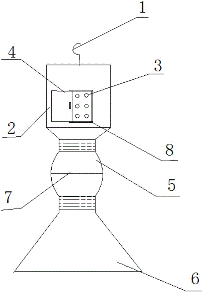
本实用新型公开了一种捕捉活体果蝇的装置,包括捕捉瓶、诱剂瓶和连接体,所述捕捉瓶体与诱剂瓶体为的瓶口为内螺纹,连接体两头为外螺纹,所述诱剂瓶和捕捉瓶通过连接体螺纹连接,所述捕捉瓶体包括捕捉瓶体侧面设置的收集孔、收集孔上下两侧的滑道和与滑道配套使用的可拉伸的遮挡板,所述连接体中间设置防虫网,所述捕捉瓶顶部有挂钩,本装置能保证捕捉到的果蝇的活力,便于活体果蝇的诱集,有利于后续研究的展开,解决了捕捉活体果蝇的效率低、捕捉到的果蝇活力降低的问题。


