授权公布号:CN216378894U
一种抗震的不锈钢钢丝绳
有效
申请
2021-11-15
申请公布
1970-01-01
授权
2022-04-26
预估到期
2031-11-15
| 申请号 | CN202122786057.7 |
| 申请日 | 2021-11-15 |
| 授权公布号 | CN216378894U |
| 授权公告日 | 2022-04-26 |
| 分类号 | D07B1/06;D07B1/14 |
| 分类 | 绳;除电缆以外的缆索; |
| 申请人名称 | 江苏圣欣不锈钢制品有限公司 |
| 申请人地址 | 江苏省泰州市兴化市戴南镇镇西 |
专利法律状态
2022-04-26
授权
状态信息
授权
摘要
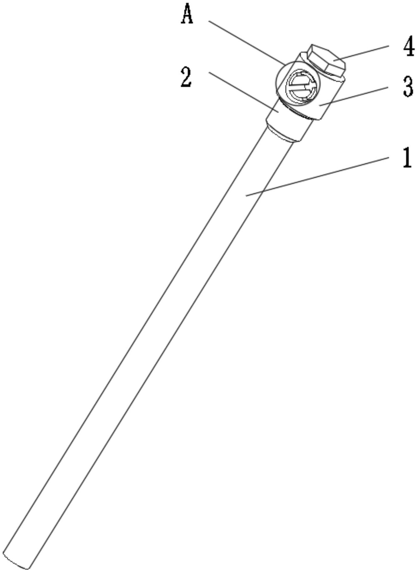
骊本实用新型公开了一种抗震的不锈钢钢丝绳,包括绳体,所述绳体的顶端固定连接有连接头,所述连接头顶端固定连接有抗震接头,所述抗震接头的中间顶端活动连接有紧度调节螺母。本实用新型通过设置的抗震连接装置,利用其他绳体横向穿过固定环,使减震弹簧向内收缩,固定环夹紧其绳体,有利于降低连接绳体震动时带动绳体进行共震,增强绳体抗震效果,通过设置的紧度调节螺母,利用紧度调节螺母进行转动,从而调节固定环初始大小,有利于增强抗震连接装置抗震效果和固定环连接紧密性,通过设置的防滑橡胶,有利于降低连接绳体与固定环的摩擦和增强抗震效果。


