授权公布号:CN209862175U
一种腐竹生产加工用自动成型装置
有效
申请
2019-04-10
申请公布
1970-01-01
授权
2019-12-31
预估到期
2029-04-10
| 申请号 | CN201920479978.9 |
| 申请日 | 2019-04-10 |
| 授权公布号 | CN209862175U |
| 授权公告日 | 2019-12-31 |
| 分类号 | A23C20/02 |
| 分类 | 其他类不包含的食品或食料;及其处理; |
| 申请人名称 | 安阳市双强豆制品有限公司 |
| 申请人地址 | 河南省安阳市内黄县二安工业区(大槐林村南侧) |
专利法律状态
2024-02-06
专利权质押登记、变更及注销
状态信息
专利权质押登记注销;IPC(主分类):A23C20/02;授权公告日:20191231;申请日:20190410;登记号:Y2023980031071;出质人:安阳市双强豆制品有限公司;质权人:内黄县农村信用合作联社二安信用社;注销日:20240118
2023-02-07
专利权质押合同登记的生效、变更及注销
状态信息
专利权质押合同登记的生效;IPC(主分类):A23C20/02;登记号:Y2023980031071;登记生效日:20230117;出质人:安阳市双强豆制品有限公司;质权人:内黄县农村信用合作联社二安信用社;实用新型名称:一种腐竹生产加工用自动成型装置;申请日:20190410;授权公告日:20191231
2023-01-10
专利权质押合同登记的生效、变更及注销
状态信息
专利权质押合同登记的注销;IPC(主分类):A23C20/02;授权公告日:20191231;申请日:20190410;登记号:Y2021980015688;出质人:安阳市双强豆制品有限公司;质权人:内黄县农村信用合作联社二安信用社;解除日:20221223
2022-01-07
专利权质押合同登记的生效、变更及注销
状态信息
专利权质押合同登记的生效;IPC(主分类):A23C20/02;登记号:Y2021980015688;登记生效日:20211221;出质人:安阳市双强豆制品有限公司;质权人:内黄县农村信用合作联社二安信用社;实用新型名称:一种腐竹生产加工用自动成型装置;申请日:20190410;授权公告日:20191231
2021-12-28
专利权质押合同登记的生效、变更及注销
状态信息
专利权质押合同登记的注销;IPC(主分类):A23C20/02;授权公告日:20191231;申请日:20190410;登记号:Y2020980008498;出质人:安阳市双强豆制品有限公司;质权人:内黄县农村信用合作联社二安信用社;解除日:20211209
2020-12-18
专利权质押合同登记的生效、变更及注销
状态信息
专利权质押合同登记的生效;IPC(主分类):A23C20/02;登记号:Y2020980008498;登记生效日:20201126;出质人:安阳市双强豆制品有限公司;质权人:内黄县农村信用合作联社二安信用社;实用新型名称:一种腐竹生产加工用自动成型装置;申请日:20190410;授权公告日:20191231
2019-12-31
授权
状态信息
授权
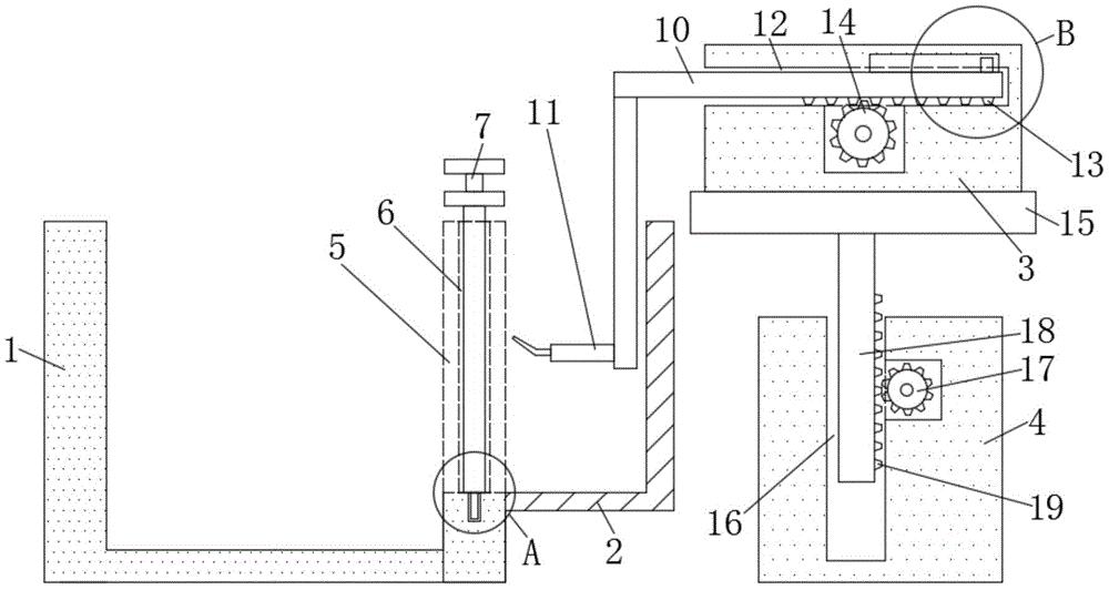
摘要
本实用新型公开了一种腐竹生产加工用自动成型装置,涉及腐竹生产加工技术领域,该腐竹生产加工用自动成型装置,包括生产池、延伸槽、驱动装置和升降装置,所述生产池的一侧固定连接有延伸槽,所述生产池的一侧中部开设有穿槽,所述穿槽的中部开设有插槽,所述插槽的内部活动安装有插板,所述插槽的下表面开设有卡接槽,所述插板的下表面固定连接有卡板。该腐竹生产加工用自动成型装置,通过驱动装置能带动活动板向前移动,同时带动挑杆从穿槽内穿过,然后通过升降装置能同步带动驱动装置和挑杆向上移动,通过挑杆能将生产池内上表面漂浮的薄膜吊起,通过自动化代替人工,有效提高腐竹的生产加工效率。


