授权公布号:CN211983583U
一种腐竹加工用自动蘸盐装置
有效
申请
2020-04-19
申请公布
1970-01-01
授权
2020-11-24
预估到期
2030-04-19
| 申请号 | CN202020582629.2 |
| 申请日 | 2020-04-19 |
| 授权公布号 | CN211983583U |
| 授权公告日 | 2020-11-24 |
| 分类号 | A23C20/02 |
| 分类 | 其他类不包含的食品或食料;及其处理; |
| 申请人名称 | 安阳市双强豆制品有限公司 |
| 申请人地址 | 河南省安阳市内黄县二安工业区(大槐林村南侧) |
专利法律状态
2023-10-20
专利权质押合同登记的生效、变更及注销
状态信息
专利权质押合同登记的生效;IPC(主分类):A23C 20/02;专利号:ZL2020205826292;登记号:Y2023980058795;登记生效日:20230927;出质人:安阳市双强豆制品有限公司;质权人:内黄县农村信用合作联社二安信用社;实用新型名称:一种腐竹加工用自动蘸盐装置;申请日:20200419;授权公告日:20201124
2023-10-10
专利权质押合同登记的生效、变更及注销
状态信息
专利权质押合同登记的注销;IPC(主分类):A23C20/02;授权公告日:20201124;申请日:20200419;登记号:Y2022980013899;出质人:安阳市双强豆制品有限公司;质权人:内黄县农村信用合作联社二安信用社;解除日:20230918
2022-09-16
专利权质押合同登记的生效、变更及注销
状态信息
专利权质押合同登记的生效;IPC(主分类):A23C20/02;登记号:Y2022980013899;登记生效日:20220829;出质人:安阳市双强豆制品有限公司;质权人:内黄县农村信用合作联社二安信用社;实用新型名称:一种腐竹加工用自动蘸盐装置;申请日:20200419;授权公告日:20201124
2020-11-24
授权
状态信息
授权
摘要
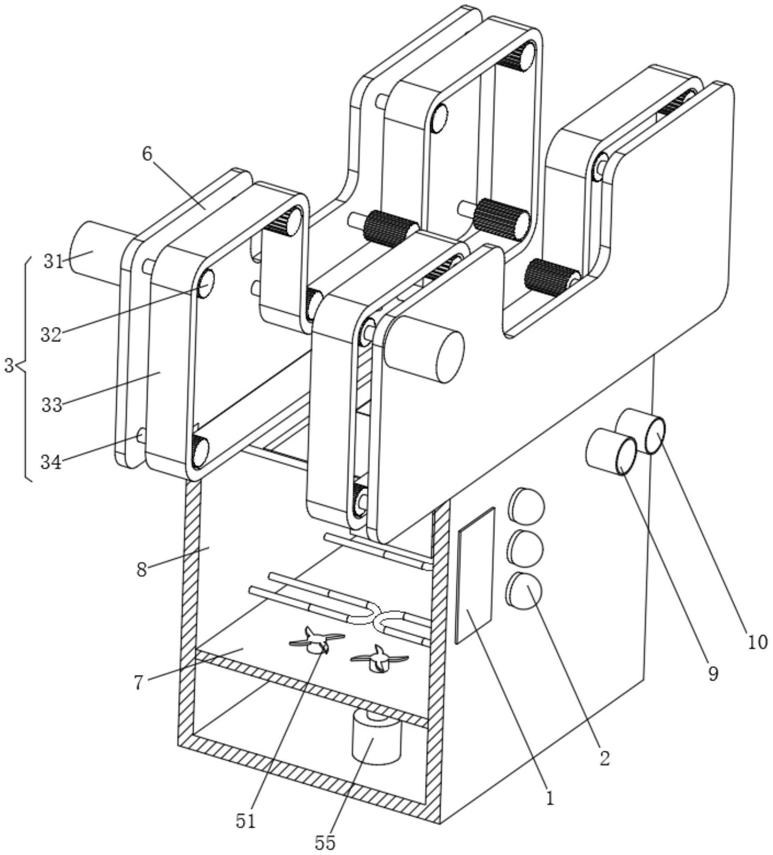
本实用新型公开了一种腐竹加工用自动蘸盐装置,包括盐水箱、输送机构、固定机构和搅拌机构;盐水箱:其顶端设有开口,其内壁设有液位传感器,其右侧面设有进水管和加盐管,其顶端的左右两侧安装有侧板;输送机构:其包含有输送电机、驱动齿轮、第一链条和连接轴,所述输送机构设有两组,且分别安装在两个侧板的侧面,所述连接轴设有八根,且转动连接在侧板的内壁上,其端部设有驱动齿轮,所述驱动齿轮之间通过第一链条连接,所述第一链条的中部区域呈凹型,其侧面安装有安装座,所述输送电机固定在侧板的外侧面,该腐竹加工用自动蘸盐装置能够自动对腐竹进行蘸盐处理,且蘸盐时间易于控制,蘸盐的效率高。


