授权公布号:CN209862173U
一种豆制品腐竹加工用的加浆匀浆装置
有效
申请
2019-04-10
申请公布
1970-01-01
授权
2019-12-31
预估到期
2029-04-10
| 申请号 | CN201920479952.4 |
| 申请日 | 2019-04-10 |
| 授权公布号 | CN209862173U |
| 授权公告日 | 2019-12-31 |
| 分类号 | A23C20/02;B01F11/00 |
| 分类 | 其他类不包含的食品或食料;及其处理; |
| 申请人名称 | 安阳市双强豆制品有限公司 |
| 申请人地址 | 河南省安阳市内黄县二安工业区(大槐林村南侧) |
专利法律状态
2024-02-06
专利权质押登记、变更及注销
状态信息
专利权质押登记注销;IPC(主分类):A23C20/02;授权公告日:20191231;申请日:20190410;登记号:Y2023980031071;出质人:安阳市双强豆制品有限公司;质权人:内黄县农村信用合作联社二安信用社;注销日:20240118
2023-02-07
专利权质押合同登记的生效、变更及注销
状态信息
专利权质押合同登记的生效;IPC(主分类):A23C20/02;登记号:Y2023980031071;登记生效日:20230117;出质人:安阳市双强豆制品有限公司;质权人:内黄县农村信用合作联社二安信用社;实用新型名称:一种豆制品腐竹加工用的加浆匀浆装置;申请日:20190410;授权公告日:20191231
2023-01-10
专利权质押合同登记的生效、变更及注销
状态信息
专利权质押合同登记的注销;IPC(主分类):A23C20/02;授权公告日:20191231;申请日:20190410;登记号:Y2021980015688;出质人:安阳市双强豆制品有限公司;质权人:内黄县农村信用合作联社二安信用社;解除日:20221223
2022-01-07
专利权质押合同登记的生效、变更及注销
状态信息
专利权质押合同登记的生效;IPC(主分类):A23C20/02;登记号:Y2021980015688;登记生效日:20211221;出质人:安阳市双强豆制品有限公司;质权人:内黄县农村信用合作联社二安信用社;实用新型名称:一种豆制品腐竹加工用的加浆匀浆装置;申请日:20190410;授权公告日:20191231
2021-12-28
专利权质押合同登记的生效、变更及注销
状态信息
专利权质押合同登记的注销;IPC(主分类):A23C20/02;授权公告日:20191231;申请日:20190410;登记号:Y2020980008498;出质人:安阳市双强豆制品有限公司;质权人:内黄县农村信用合作联社二安信用社;解除日:20211209
2020-12-18
专利权质押合同登记的生效、变更及注销
状态信息
专利权质押合同登记的生效;IPC(主分类):A23C20/02;登记号:Y2020980008498;登记生效日:20201126;出质人:安阳市双强豆制品有限公司;质权人:内黄县农村信用合作联社二安信用社;实用新型名称:一种豆制品腐竹加工用的加浆匀浆装置;申请日:20190410;授权公告日:20191231
2019-12-31
授权
状态信息
授权
摘要
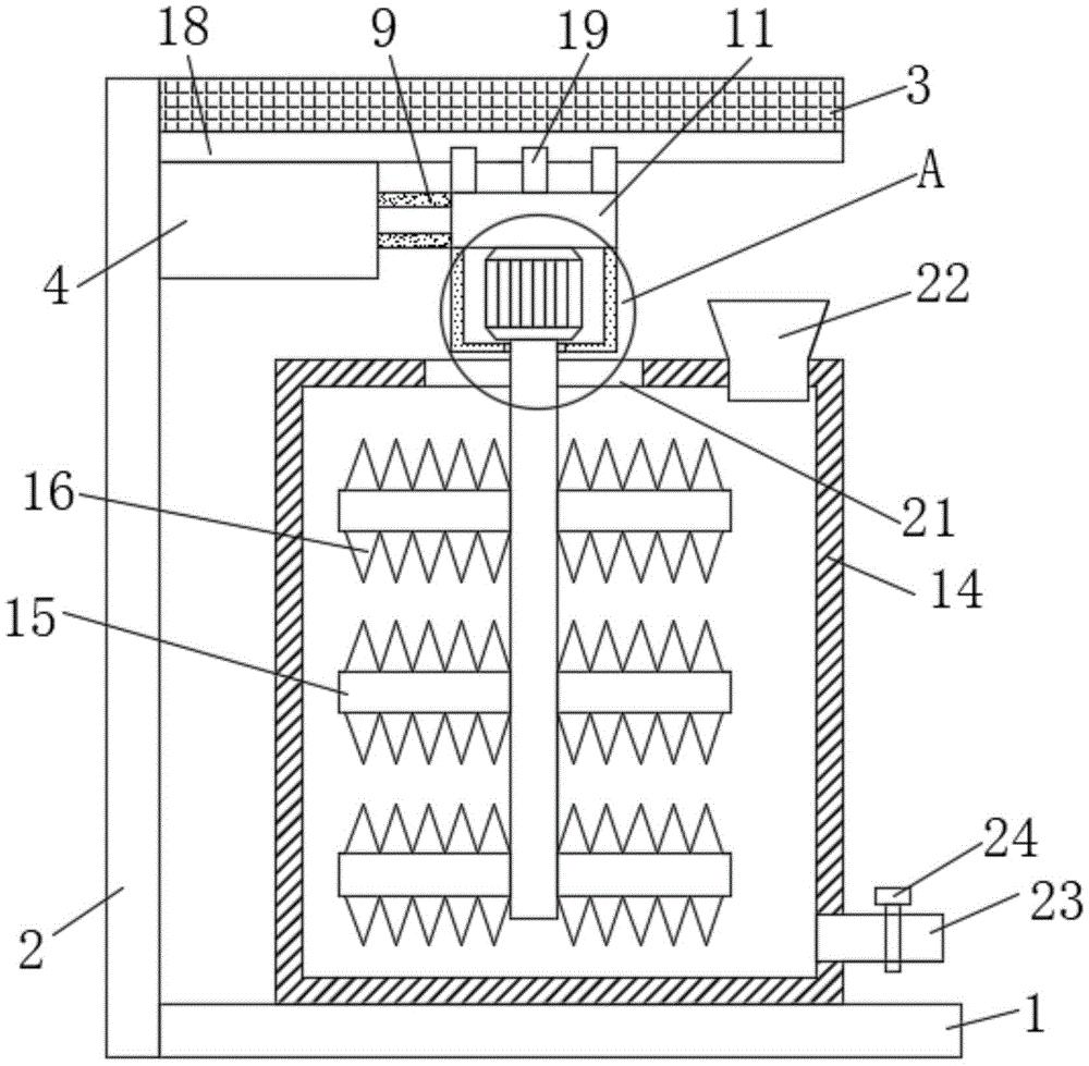
本实用新型公开了一种豆制品腐竹加工用的加浆匀浆装置,涉及豆制品腐竹加工技术领域,该豆制品腐竹加工用的加浆匀浆装置,包括基座,所述基座的一端固定连接有支架,所述支架的一侧顶端固定连接有顶板,所述支架的一侧上端固定连接有箱体,所述箱体的后侧内壁固定连接有第一电机,所述第一电机的输出端固定连接转轴的一端,所述转轴的另一端固定连接有凸轮,所述凸轮的右侧贴合连接有滑动板。该豆制品腐竹加工用的加浆匀浆装置,通过第一电机、转轴、凸轮、滑动板、推杆和复位弹簧的配合设置,能够使搅拌轴、搅拌杆和搅拌片在搅拌箱内左右移动,从而能够使搅拌轴、搅拌杆和搅拌片对原料搅拌的更加高效。


