授权公布号:CN217164152U
一种高效涂料生产设备
有效
申请
2021-12-15
申请公布
1970-01-01
授权
2022-08-12
预估到期
2031-12-15
| 申请号 | CN202123143829.1 |
| 申请日 | 2021-12-15 |
| 授权公布号 | CN217164152U |
| 授权公告日 | 2022-08-12 |
| 分类号 | B01F31/60;B01F35/43;B01F35/45;B01F35/75;B01F101/30N |
| 分类 | 一般的物理或化学的方法或装置; |
| 申请人名称 | 天津市津海特种涂料装饰有限公司 |
| 申请人地址 | 天津市北辰区北仓镇津保高速公路南(京宝工业园) |
专利法律状态
2022-08-12
授权
状态信息
授权
摘要
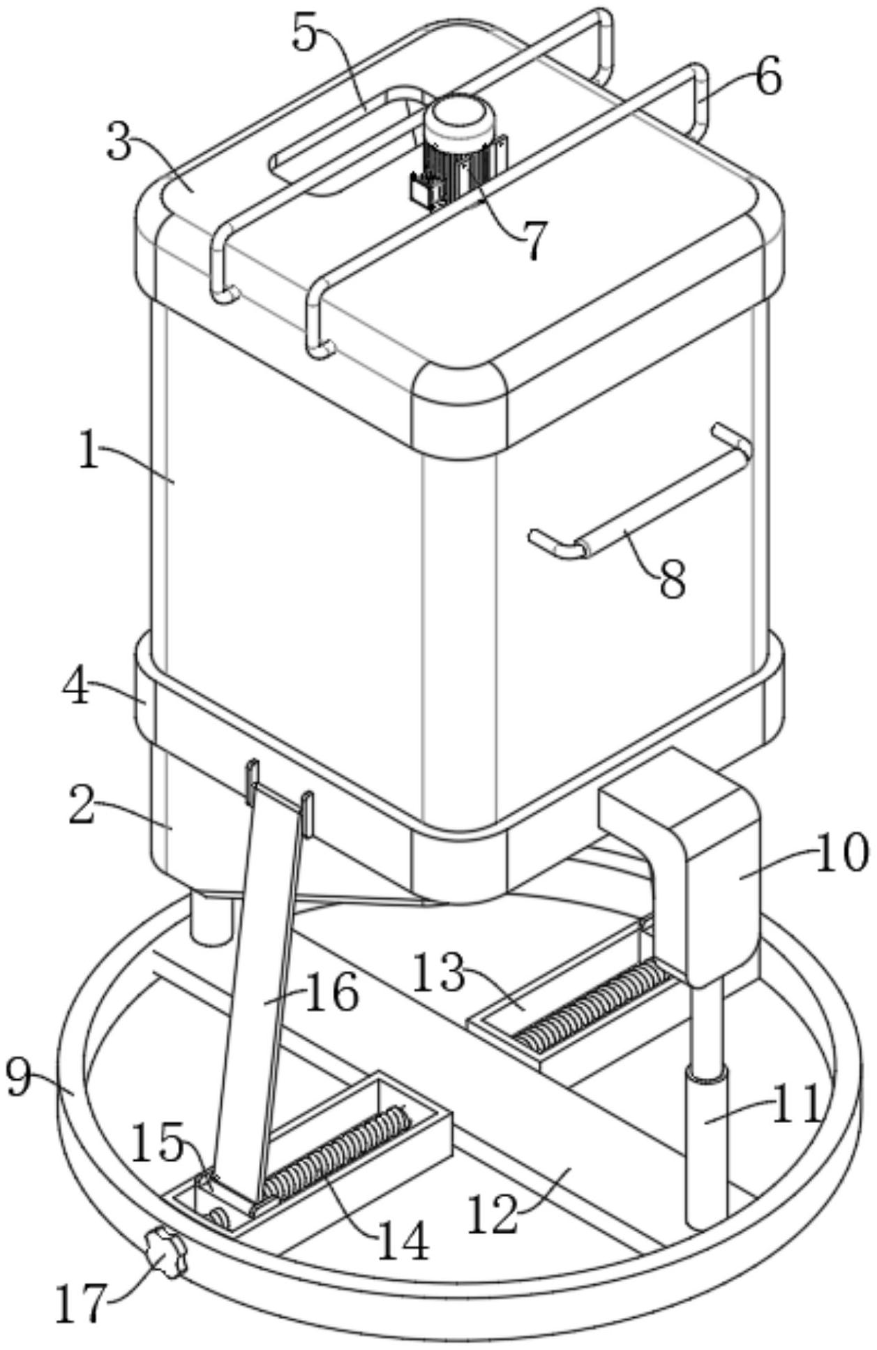
本实用新型提供一种高效涂料生产设备,属于涂料生产技术领域,该高效涂料生产设备,包括装置箱,装置箱的一侧端固定连接有卸料口,装置箱的另一侧端通过螺钉固定连接有装置盖,装置盖的侧端开设有进料槽,装置盖的侧端中部固定连接有电机,装置盖的另一侧端转动连接有搅拌杆,搅拌杆的侧端活动贯穿装置盖的侧端并与电机的输出端固定连接;以及可调节支撑机构,可调节支撑机构设置于装置箱的外表面以实现针对整个装置的高度调节,本装置通过可调节支撑机构的设计连接,能够针对整个装置进行涂料搅动后卸料过程进行调整,且能够在搅动过程中通过内桶的晃动和搅拌杆的搅动配合,进行充分搅动生产,提高了整个装置的使用灵活性。


