授权公布号:CN220467173U
一种光纤绕环机自动张力控制装置
有效
申请
2023-05-16
申请公布
1970-01-01
授权
2024-02-09
预估到期
2033-05-16
| 申请号 | CN202321182922.X |
| 申请日 | 2023-05-16 |
| 授权公布号 | CN220467173U |
| 授权公告日 | 2024-02-09 |
| 分类号 | B65H59/10;B65H63/02;B65H63/04 |
| 分类 | 输送;包装;贮存;搬运薄的或细丝状材料; |
| 申请人名称 | 成都中住光纤有限公司 |
| 申请人地址 | 四川省成都市高新西区西源大道56号 |
专利法律状态
2024-02-09
授权
状态信息
授权
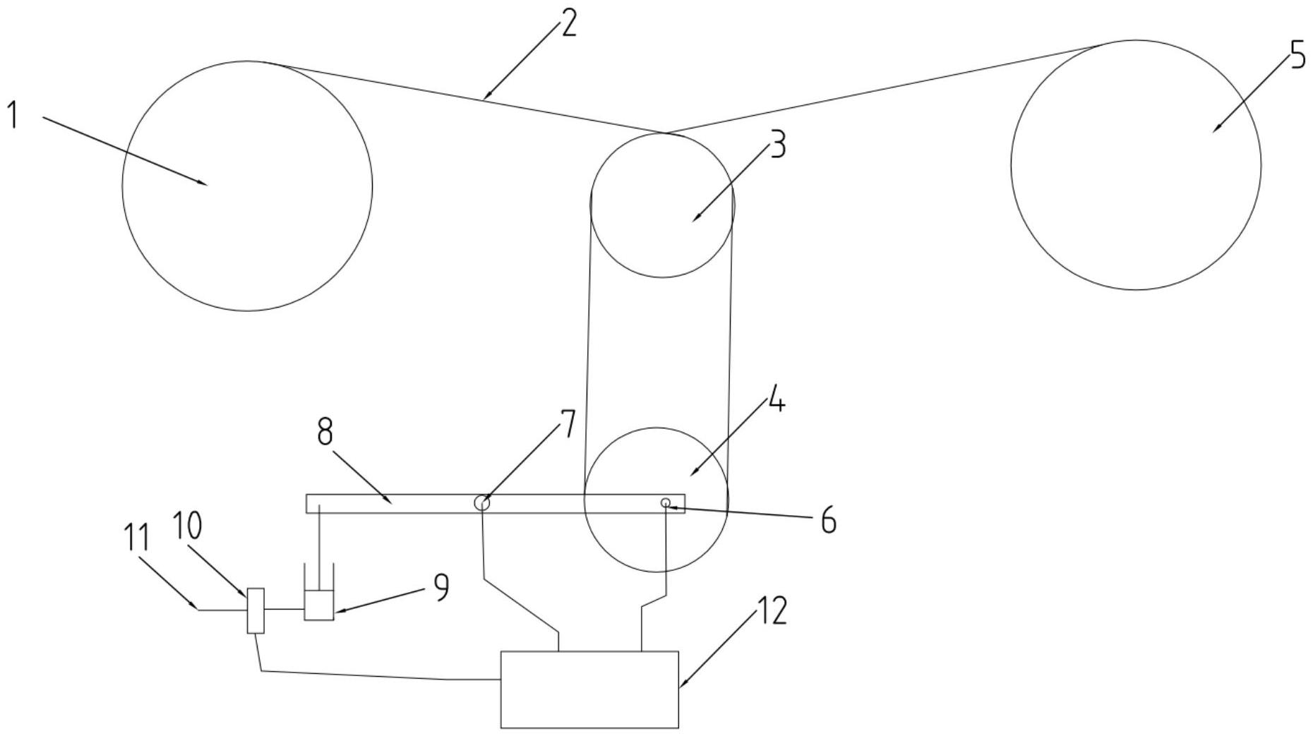
摘要
本实用新型公开了一种光纤绕环机自动张力控制装置,包括放线盘、过线轮、张力轮和收线盘;放线盘将光纤放出,光纤依次缠绕所述过线轮的一侧、张力轮、过线轮的另一侧、最后收入收线盘中;张力轮与摇臂的一端固定连接,摇臂的另一端与驱动组件相连;驱动组件驱动摇臂上下移动;摇臂和张力轮上分别安装角度传感器和张力传感器;驱动组件、角度传感器和张力传感器均与控制器电性连接。本实用新型结构简单,可实时反馈并控制光纤的张力,通过气缸进行力的驱动,以驱动摇臂摆动,并结合张力传感器,准确控制光纤传感器的张力,具有较强的实用性。


