授权公布号:CN218578221U
无气苏打水灌装用温度监控装置
有效
申请
2022-08-22
申请公布
1970-01-01
授权
2023-03-07
预估到期
2032-08-22
| 申请号 | CN202222205033.2 |
| 申请日 | 2022-08-22 |
| 授权公布号 | CN218578221U |
| 授权公告日 | 2023-03-07 |
| 分类号 | B65B63/08;B65B3/04;B65B3/26 |
| 分类 | 输送;包装;贮存;搬运薄的或细丝状材料; |
| 申请人名称 | 焦作市明仁天然药物有限责任公司 |
| 申请人地址 | 河南省焦作市示范区黄河大道(西段)68号 |
专利法律状态
2023-03-07
授权
状态信息
授权
摘要
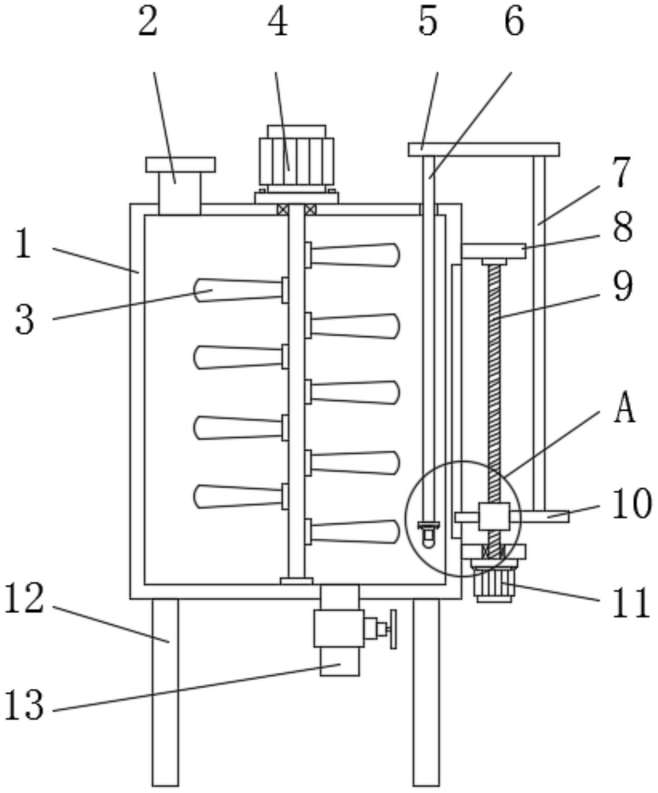
本实用新型公开了无气苏打水灌装用温度监控装置,包括罐体,所述罐体的顶部表面中间位置处安装有第一电机,且第一电机的输出端贯穿罐体固定连接有转杆。本实用新型,通过温度传感器的使用,即可对罐体中的无气苏打水的温度进行监测,使得本设备具有温度监控功能,其中通过第二电机带动螺杆进行转动,螺杆转动的同时螺杆上的移动块在螺杆进行移动,使得移动块一侧表面上的连接块进行移动,连接块移动的同时带动第二连接杆上的连接板进行移动,使连接板上的第一连接杆一端的温度传感器在罐体中进行上下移动,便于对不同液位的无气苏打水的温度进行监测,从而便于实时掌握罐体中无气苏打水的温度,有利于无气苏打水的后续罐装加工。


