授权公布号:CN218629118U
一种地下水定量采样检测装置
有效
申请
2022-08-22
申请公布
1970-01-01
授权
2023-03-14
预估到期
2032-08-22
| 申请号 | CN202222207282.5 |
| 申请日 | 2022-08-22 |
| 授权公布号 | CN218629118U |
| 授权公告日 | 2023-03-14 |
| 分类号 | G01N1/14;G01F19/00 |
| 分类 | 测量;测试; |
| 申请人名称 | 焦作市明仁天然药物有限责任公司 |
| 申请人地址 | 河南省焦作市示范区黄河大道(西段)68号 |
专利法律状态
2023-03-14
授权
状态信息
授权
摘要
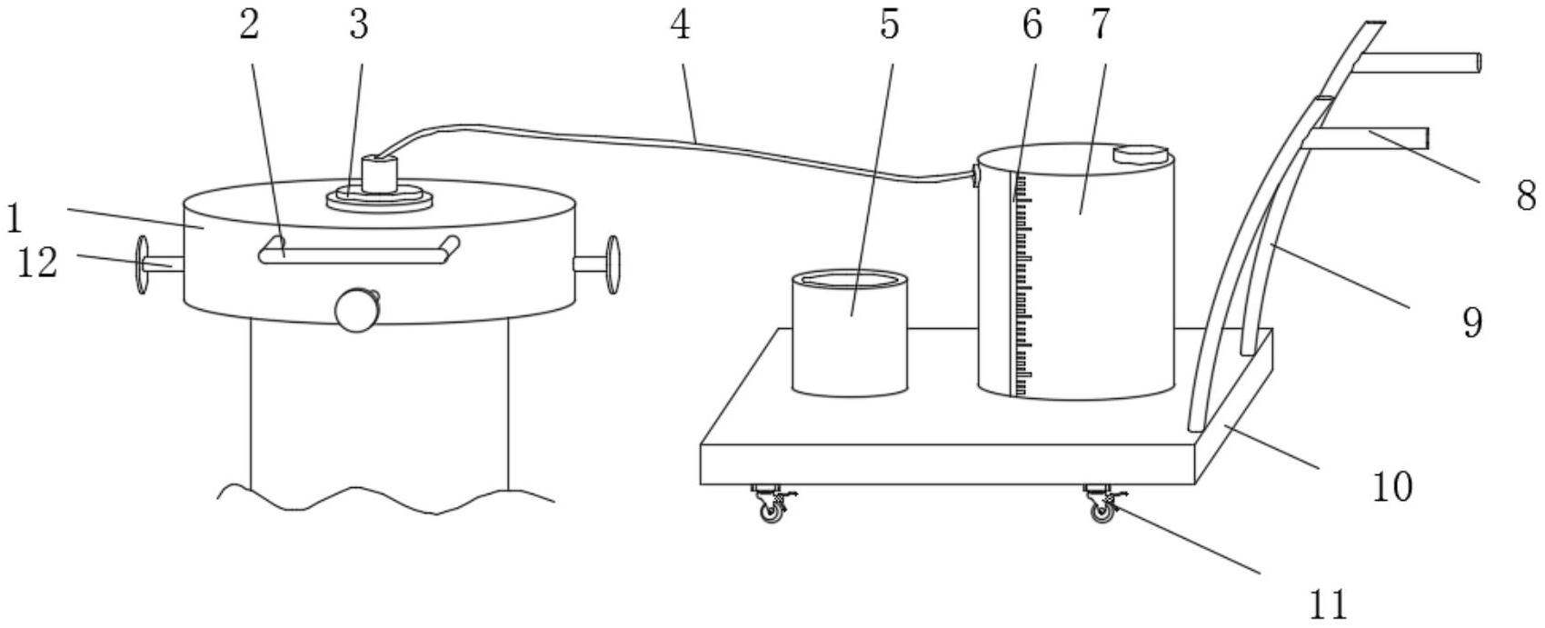
本实用新型公开了一种地下水定量采样检测装置,包括固定盖和底座,所述固定盖表面贯穿安装有抽水泵,所述抽水泵输入端设置有抽水管,所述固定盖外侧表面螺旋连接有螺杆,所述螺杆一端位于固定盖内侧设置有挤压板。本实用新型中通过设置固定盖、挤压板、螺杆和手轮的配合使用,便于在抽水采样时,提高抽水泵在抽水时的稳定性,使得在操作时,工作人员把底座移动的地下水管道旁,之后把固定盖套接在地下水管道上,然后工作人员手动旋转手轮,之后在螺杆的带动下,使挤压板向固定盖内部移动,从而在多组挤压板的限位挤压下,使固定盖与地下水管道进行固定,此方式操作简单,便于提高在抽水取样时抽水泵的稳定性,提高其采样效率。


