授权公布号:CN212018730U
一种塑料光缆预清洗用夹持装置
有效
申请
2020-04-30
申请公布
1970-01-01
授权
2020-11-27
预估到期
2030-04-30
| 申请号 | CN202020700115.2 |
| 申请日 | 2020-04-30 |
| 授权公布号 | CN212018730U |
| 授权公告日 | 2020-11-27 |
| 分类号 | B08B3/02;B08B13/00 |
| 分类 | 清洁; |
| 申请人名称 | 湖北森沃光电科技有限公司 |
| 申请人地址 | 湖北省宜昌市宜都市红花套镇杨家畈村 |
专利法律状态
2020-11-27
授权
状态信息
授权
摘要
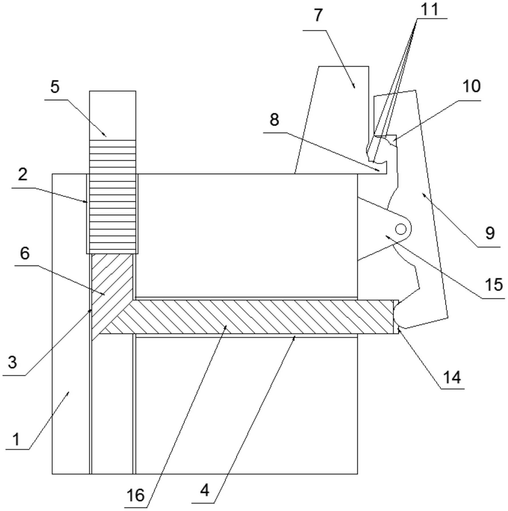
本实用新型提供了一种塑料光缆预清洗用夹持装置,包括本体,本体开设有螺纹孔,螺纹孔底面开设竖向孔,竖向孔上开设水平孔,螺纹孔内设置螺杆,竖向孔内设置第一楔形块,水平孔内设置第二楔形块;本体顶面设置有固定夹持部,于本体侧壁转动设置传力件,传力件另一端上设与固定夹持部配合的活动夹持部,固定夹持部上设有向活动夹持部延伸的凸台。本实用新型通过调节螺杆使塑料线缆被夹紧或松开,操作简便,且固定夹持部的外壁、凸台以及活动夹持部上均设有用于与塑料光缆作用的线槽,避免了现有的平面夹持技术会使被夹持的塑料光缆外皮变形的缺陷,提高了塑料光缆成品的质量,降低了生产成本。


