授权公布号:CN218951258U
光纤冷却装置
有效
申请
2022-09-21
申请公布
1970-01-01
授权
2023-05-02
预估到期
2032-09-21
| 申请号 | CN202222511078.2 |
| 申请日 | 2022-09-21 |
| 授权公布号 | CN218951258U |
| 授权公告日 | 2023-05-02 |
| 分类号 | C03B37/01;C03B37/10;B29C35/16 |
| 分类 | 玻璃;矿棉或渣棉; |
| 申请人名称 | 湖北森沃光电科技有限公司 |
| 申请人地址 | 湖北省宜昌市宜都市红花套镇吴家岗村4组 |
专利法律状态
2023-05-02
授权
状态信息
授权
摘要
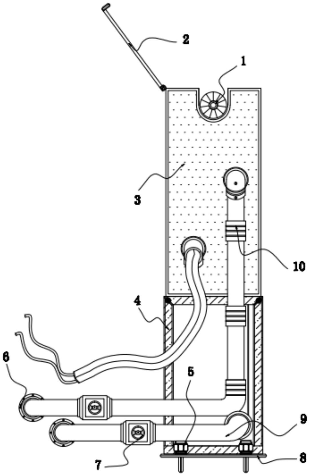
本实用新型公开了光纤冷却装置,包括盖板、冷却箱和机架,所述冷却箱固定于机架的顶部,所述盖板活动连接于冷却箱的顶部,所述冷却箱的一侧焊接有第一冷却水循环管,所述冷却箱的另一侧焊接有第二冷却水循环管。本实用新型通过安装有伸缩式冷却水槽和光纤入口等,使得装置优化了自身的结构,使用者可以利用第一导向滑条和第二导向滑条以及第一滑轨和第二滑轨之间的滑动连接结构,将伸缩式冷却水槽在冷却箱内部进行抽拉、伸缩处理,设置伸缩式冷却水槽,适用于对不同类型的光纤进行冷却,有的光纤需要加工后立即冷却,有的光纤需要加工后间隔两到三秒定型后冷却,提升了装置的适用性。


