授权公布号:CN214192041U
一种用于缠绕阻水纱的放纱装置
有效
申请
2020-11-20
申请公布
1970-01-01
授权
2021-09-14
预估到期
2030-11-20
| 申请号 | CN202022699473.9 |
| 申请日 | 2020-11-20 |
| 授权公布号 | CN214192041U |
| 授权公告日 | 2021-09-14 |
| 分类号 | B65H57/14;B65H59/10;B65H67/02;B65H49/38;B65H49/28 |
| 分类 | 输送;包装;贮存;搬运薄的或细丝状材料; |
| 申请人名称 | 四川远通通信有限公司 |
| 申请人地址 | 四川省成都市中国(四川)自由贸易试验区成都市双流区西南航空港经济开发区龙湖路48号 |
专利法律状态
2021-09-14
授权
状态信息
授权
摘要
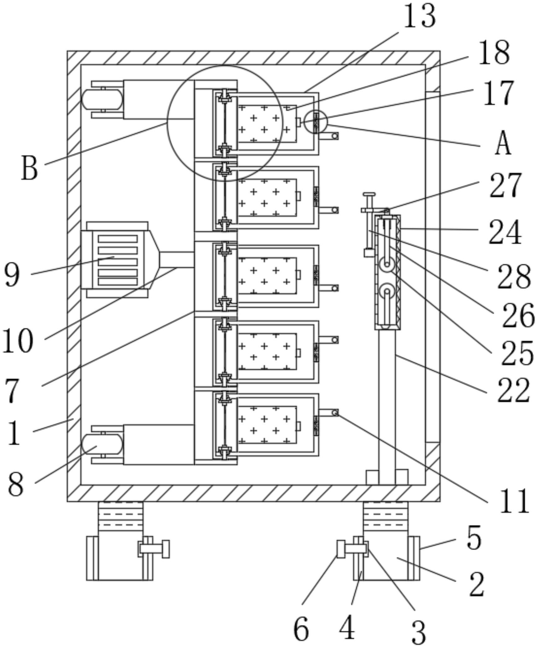
本实用新型属于阻水纱放纱装置技术领域,尤其为一种用于缠绕阻水纱的放纱装置,所述箱体内设有转动盘,转动盘外端面设有等距分布的纱筒,纱筒内嵌套有与所述转动盘转动连接的第二转轴。本实用新型通过卡板和滑动轮的设置,卡板和弹簧进行卡合作用,将防护壳进行卡合进行,纱筒通过第二转轴进行转动,转筒将防水纱转出来,防水纱通过拉绳将卡板进行拉出,对防护壳进行拿出,对纱筒进行替换,可以使得装置正常运行,防止装置在进行对待缠绕的杆体进行缠绕的时候不会出现防水纱用完的情况,通过滑动轮对防水纱进行保护,防止防水纱进行拉丝。


