授权公布号:CN213793943U
一种可调式缆线拉直调节装置
有效
申请
2020-11-20
申请公布
1970-01-01
授权
2021-07-27
预估到期
2030-11-20
| 申请号 | CN202022715204.7 |
| 申请日 | 2020-11-20 |
| 授权公布号 | CN213793943U |
| 授权公告日 | 2021-07-27 |
| 分类号 | B21F1/02 |
| 分类 | 基本上无切削的金属机械加工;金属冲压; |
| 申请人名称 | 四川远通通信有限公司 |
| 申请人地址 | 四川省成都市中国(四川)自由贸易试验区成都市双流区西南航空港经济开发区龙湖路48号 |
专利法律状态
2021-07-27
授权
状态信息
授权
摘要
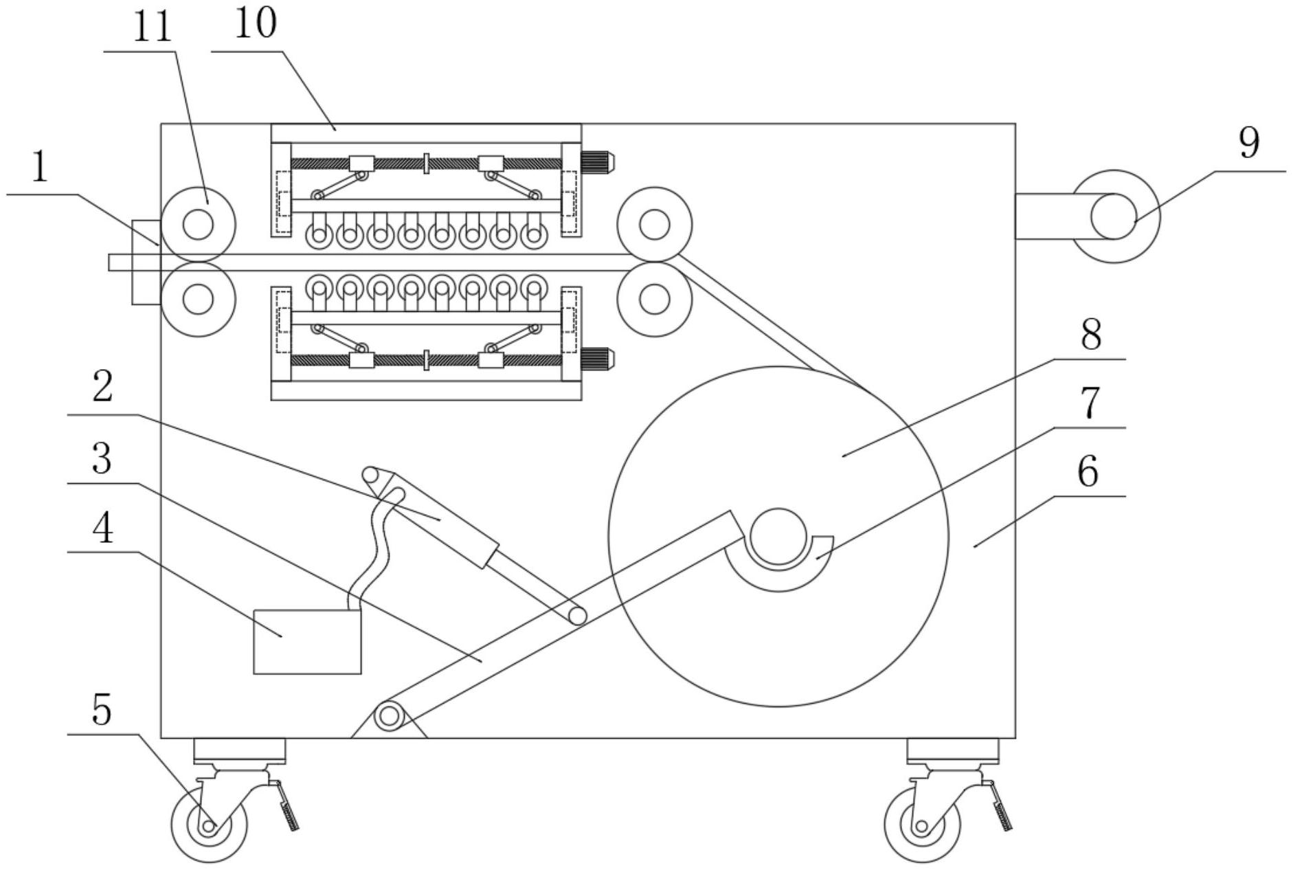
本实用新型公开了一种可调式缆线拉直调节装置,包括调节装置本体,所述调节装置本体一侧表面固定设有扶手,所述扶手下端对应调节装置本体表面铰链连接设有开关门,所述调节装置本体下端表面固定设有若干个万向轮,所述调节装置本体另一侧表面固定设有入口,所述调节装置本体内部固定设有调直机构,所述调直机构两侧设有若干个辅助压轮组,将缆线通过入口进入辅助压轮组,从而进行调直机构,启动第一驱动电机带动丝杆旋转,从而带动螺母向两侧移动,带动旋转连接杆推动滑动板向下滑动,从而使上下两端的调直压辊对缆线表面进行碾压,辅助压轮组和调直压辊表面均呈半圆弧凹形设置方便缆线通过,且可对缆线进行约束调直。


