授权公布号:CN219455029U
一种用于光缆绞合装置前端的光缆固定计米装置
有效
申请
2023-03-10
申请公布
1970-01-01
授权
2023-08-01
预估到期
2033-03-10
| 申请号 | CN202320462810.3 |
| 申请日 | 2023-03-10 |
| 授权公布号 | CN219455029U |
| 授权公告日 | 2023-08-01 |
| 分类号 | G01B21/06 |
| 分类 | 测量;测试; |
| 申请人名称 | 四川远通通信有限公司 |
| 申请人地址 | 四川省成都市中国(四川)自由贸易试验区成都市双流区西南航空港经济开发区龙湖路48号 |
专利法律状态
2023-08-01
授权
状态信息
授权
摘要
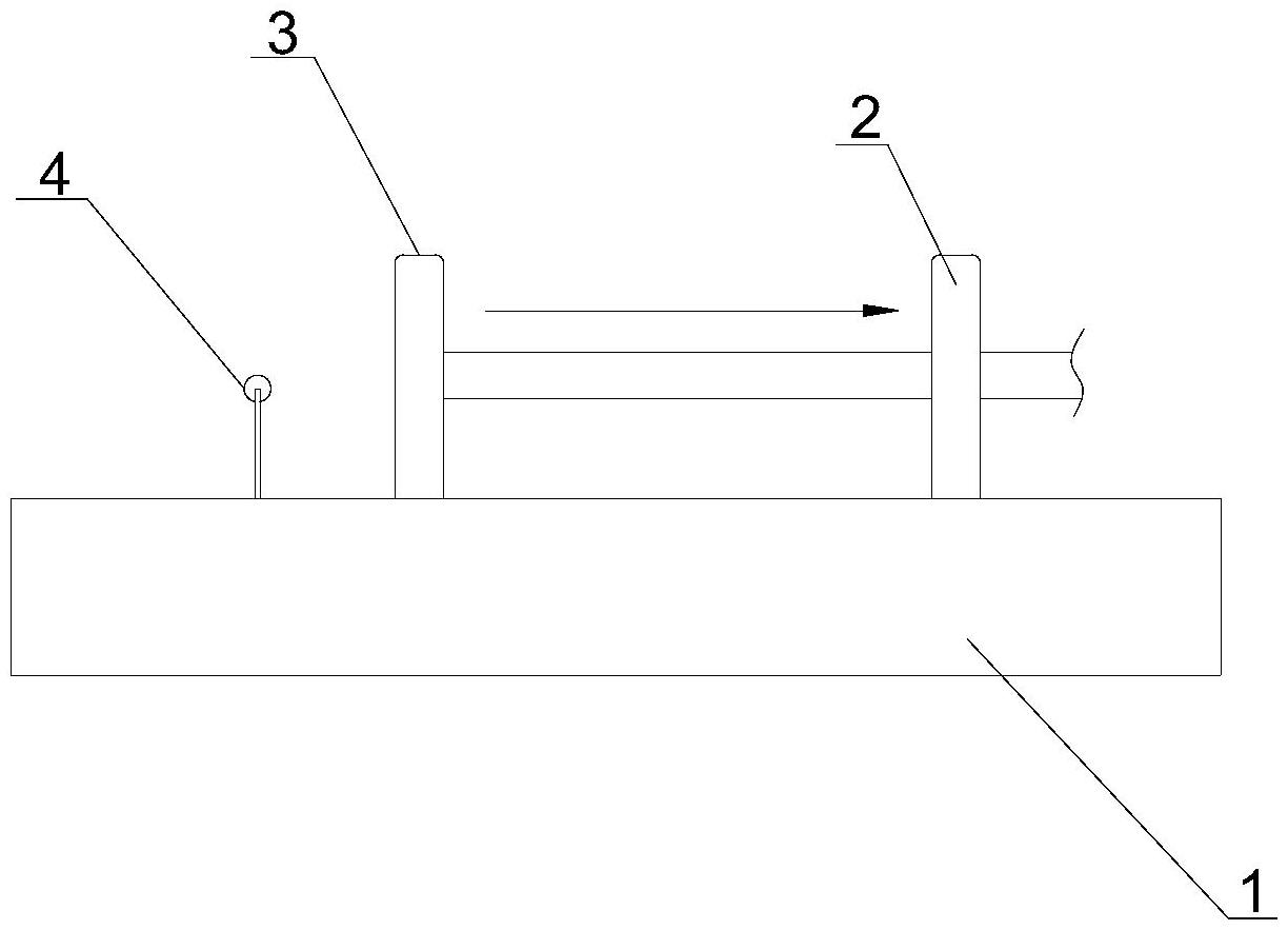
本实用新型公开了一种用于光缆绞合装置前端的光缆固定计米装置,属于光缆生产技术领域,解决了现有技术光缆绞合过程中,缆芯与加强元件之间、加强元件与加强元件之间容易发生缠绕且在绞合过程中无法进行计米工作的技术问题。它包括绞合装置本体、设置于所述绞合装置本体上的绞合板、定位板以及计米组件,所述绞合板中心部设置有中心筒一,所述中心筒一四周环形阵列有多个贯穿孔一,多个所述贯穿孔一的内侧均设置有柔性保护层;所述定位板中心部设置有中心筒二,所述中心筒二远离所述中心筒一的一侧端口连接有定位盘,所述定位盘中心部设置有中心孔,所述中心孔四周环形阵列有多个贯穿孔二,多个所述贯穿孔二的内侧均设置有柔性保护层。


