授权公布号:CN220223889U
应用于湿地的新型生态过滤塘
有效
申请
2023-06-13
申请公布
1970-01-01
授权
2023-12-22
预估到期
2033-06-13
| 申请号 | CN202321501728.3 |
| 申请日 | 2023-06-13 |
| 授权公布号 | CN220223889U |
| 授权公告日 | 2023-12-22 |
| 分类号 | C02F9/00;C02F3/32;B01D29/58;B01D29/03 |
| 分类 | 水、废水、污水或污泥的处理; |
| 申请人名称 | 华艺生态园林股份有限公司 |
| 申请人地址 | 安徽省合肥市高新区红枫路7号富邻广场B座12楼 |
专利法律状态
2023-12-22
授权
状态信息
授权
摘要
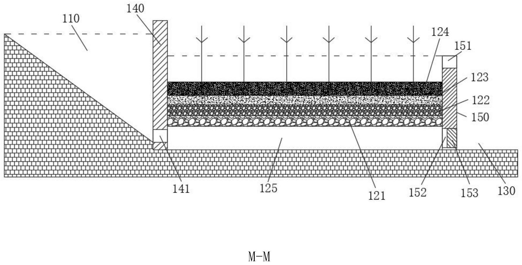
本实用新型涉及应用于湿地的新型生态过滤塘,包括过滤区,所述过滤区设置于上游区和下游区之间,所述过滤区包括由下至上设置的支撑层、第一过滤层和第二过滤层,所述支撑层由直径为30cm的卵石堆砌形成,所述第一过滤层由直径为8cm的卵石堆积形成,所述第二过滤层为直径小于1mm的砂砾堆积形成,所述支撑层底部形成有空腔;第一阻隔坝,所述上游区和过滤区之间设置有第一阻隔坝,所述第一阻隔坝底部开设使进水口与空腔相连通的进水口。本实用新型更改传统的由上至下的过滤方式,采用由下至上的过滤方式,使杂质被拦截在底部的空腔内,避免杂质漂浮于水面,保证过滤区上表面的美观度。


