授权公布号:CN218759020U
一种可移动观景台
有效
申请
2022-10-17
申请公布
1970-01-01
授权
2023-03-28
预估到期
2032-10-17
| 申请号 | CN202222727601.5 |
| 申请日 | 2022-10-17 |
| 授权公布号 | CN218759020U |
| 授权公告日 | 2023-03-28 |
| 分类号 | E04H1/12;E04H17/14;E04B1/343;E04F10/00 |
| 分类 | 建筑物; |
| 申请人名称 | 华艺生态园林股份有限公司 |
| 申请人地址 | 安徽省合肥市高新区红枫路7号富邻广场B座12楼 |
专利法律状态
2023-03-28
授权
状态信息
授权
摘要
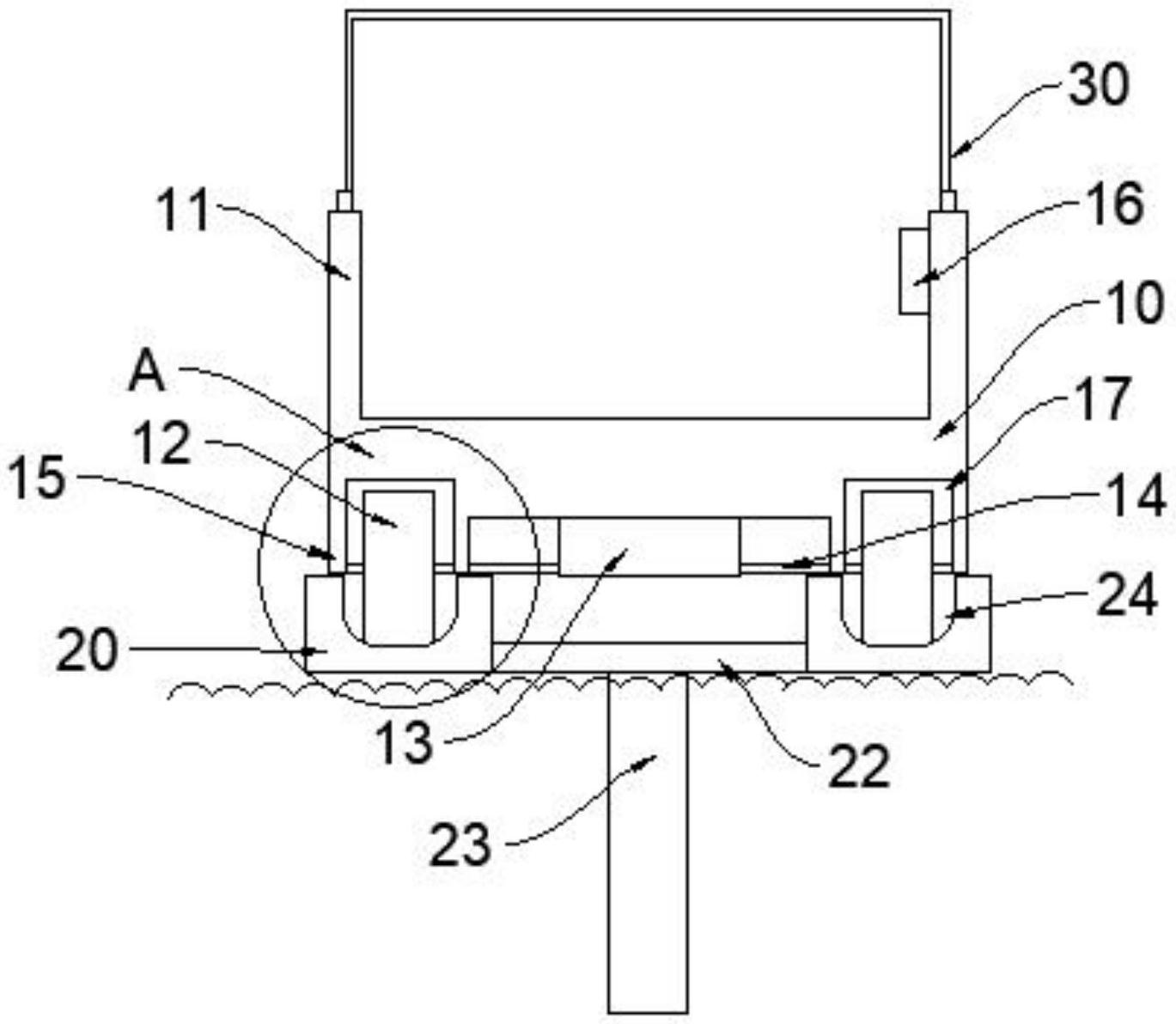
本实用新型提供了一种可移动观景台,包括移动台和滑轨机构,所述滑轨机构上端滑动连接有移动台,所述移动台包括滑轮、电机和驱动轴,所述电机固定在移动台下端,所述电机转动端与驱动轴固定,所述滑轮固定穿设在驱动轴两端,所述滑轨机构包括滑道,所述滑轮与滑道相匹配,所述电机驱动驱动轴带动滑轮在滑道内滚动,使移动台在滑轨机构上移动;使用者进入到移动台中,操作控制面板,所述电机开始工作,所述电机驱动驱动轴带动滑轮在滑道内滚动,使移动台在滑轨机构上移动。实现通过移动移动台达到欣赏距离岸边更远水域的植物美景的目的。


