授权公布号:CN114128483B
一种组合式草坪修剪开沟设备
有效
申请
2021-11-12
申请公布
2022-03-04
授权
2023-05-02
预估到期
2041-11-12
| 申请号 | CN202111340538.3 |
| 申请日 | 2021-11-12 |
| 申请公布号 | CN114128483A |
| 申请公布日 | 2022-03-04 |
| 授权公布号 | CN114128483B |
| 授权公告日 | 2023-05-02 |
| 分类号 | A01D43/12;A01D43/00 |
| 分类 | 农业;林业;畜牧业;狩猎;诱捕;捕鱼; |
| 申请人名称 | 华艺生态园林股份有限公司 |
| 申请人地址 | 安徽省合肥市高新区红枫路7号富邻广场B座12楼 |
专利法律状态
2023-05-02
授权
状态信息
授权
2022-03-04
公布
状态信息
公布
摘要
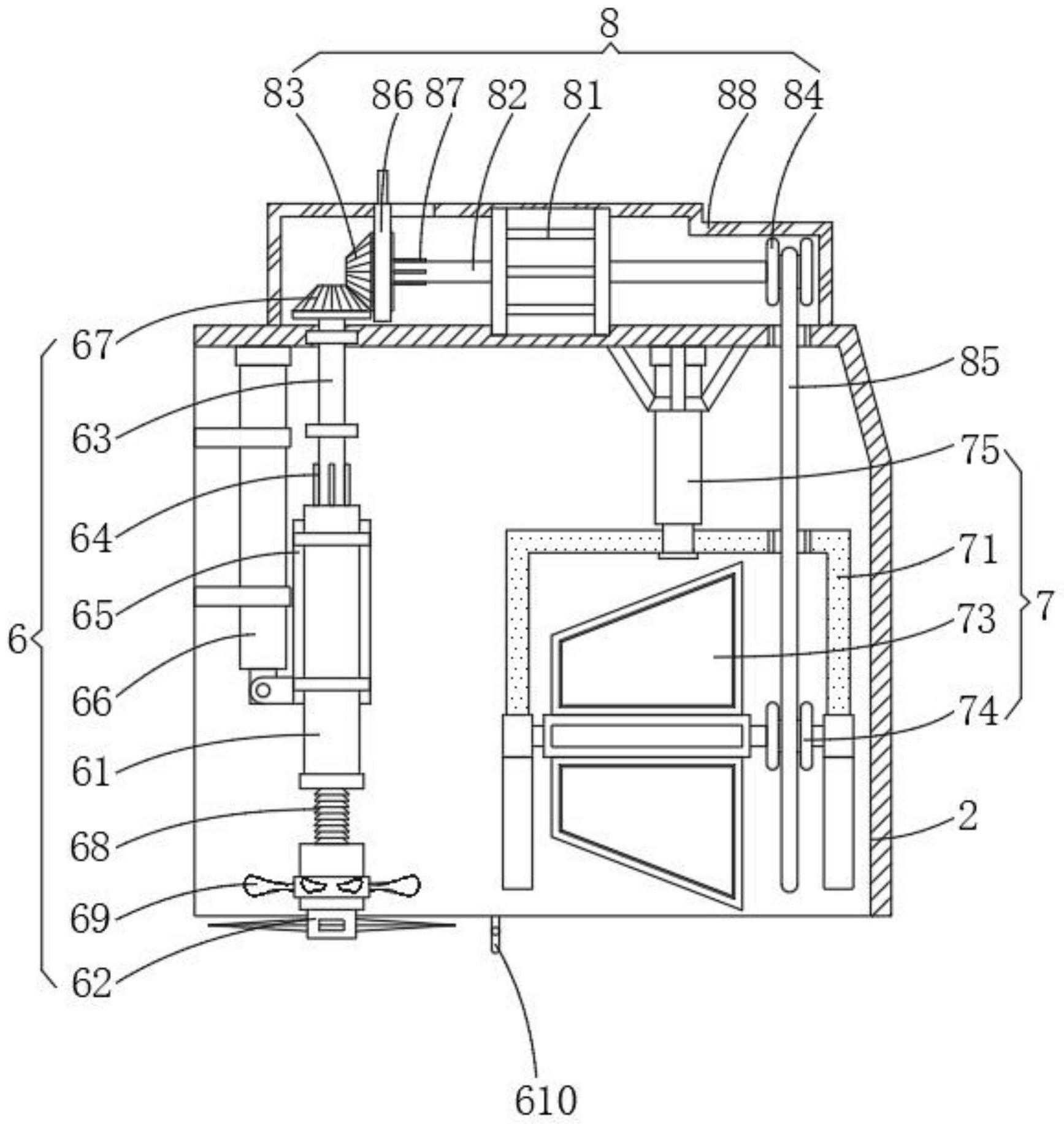
本发明提供了一种组合式草坪修剪开沟设备,包括车体以及机罩,所述机罩的内腔接近车体的一侧设有割草机构,所述机罩的内腔远离车体的一侧设有开槽机构,所述机罩的顶部设有传动机构;割草机构下移出机罩,传动机构驱动割草机构割草,开槽机构下移出机罩,传动机构驱动开槽机构对地面开槽。本发明的开槽销对草坪与灌木丛接壤处开槽时,割草刀片切割草坪边缘处草丛,切割后的草丛由吹风机构吹向灌木丛一侧,此时草屑落入泥土中,且泥土朝灌木丛一侧移动,可作为灌木丛的肥料使用,该开沟设备开沟过程中,使泥土与草屑均向灌木丛的一侧移动,不仅无需人工后期的清理,而且草屑混入泥土中可当做灌木丛的肥料。


