授权公布号:CN218977422U
多方位调节的生态架
有效
申请
2022-12-23
申请公布
1970-01-01
授权
2023-05-09
预估到期
2032-12-23
| 申请号 | CN202223456573.4 |
| 申请日 | 2022-12-23 |
| 授权公布号 | CN218977422U |
| 授权公告日 | 2023-05-09 |
| 分类号 | A01G9/02;A01G9/28;A01G25/02 |
| 分类 | 农业;林业;畜牧业;狩猎;诱捕;捕鱼; |
| 申请人名称 | 华艺生态园林股份有限公司 |
| 申请人地址 | 安徽省合肥市高新区红枫路7号富邻广场B座12楼 |
专利法律状态
2023-05-09
授权
状态信息
授权
摘要
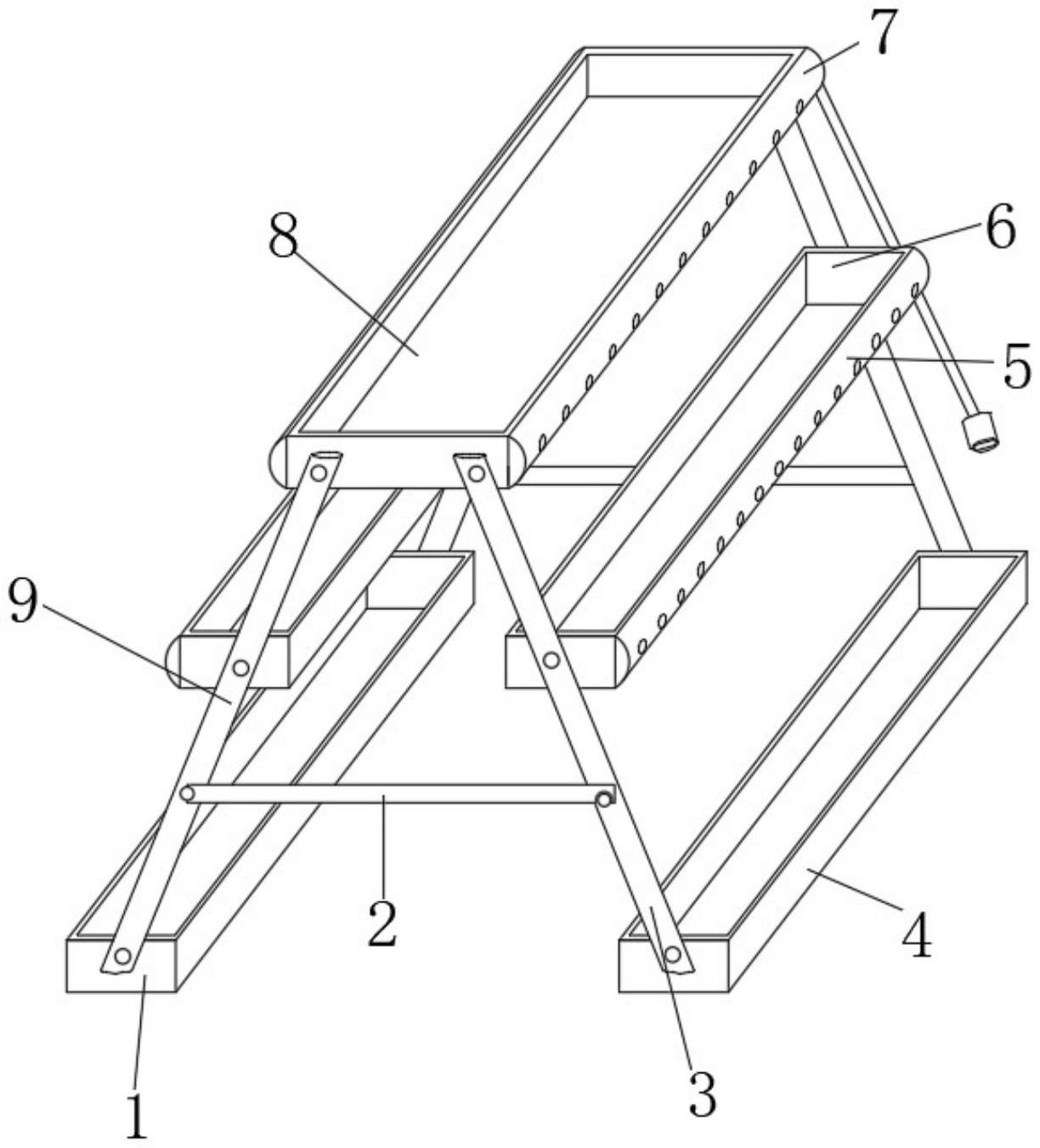
本实用新型公开了多方位调节的生态架,包括两组第一撑架和两组第二撑架,两组第一撑架活动安装在两组第二撑架的一侧,第一撑架和第二撑架的上端通过固定顶盒连接,所述第一撑架和第二撑架的中部均活动安装有种植盒,两组第二撑架的下端位置活动安装有第一底盒,两组第一撑架的下端位置活动安装有第二底盒,所述第一撑架和第二撑架之间通过固定撑杆支撑固定,所述种植盒的侧边外表面固定安装有第二喷淋管;利用进水管的设置将水体灌入至第二喷淋管和第一喷淋管内,利用设置在下部位置的喷淋槽,可以从上至下对第一底盒、第二底盒和种植盒内的植物进行浇灌操作,使得该多方位调节的生态架的浇灌操作更加省力。


