授权公布号:CN108732705B
用于蝶缆的切剥装置
有效
申请
2018-06-29
申请公布
2018-11-02
授权
2023-10-20
预估到期
2038-06-29
| 申请号 | CN201810696490.1 |
| 申请日 | 2018-06-29 |
| 申请公布号 | CN108732705A |
| 申请公布日 | 2018-11-02 |
| 授权公布号 | CN108732705B |
| 授权公告日 | 2023-10-20 |
| 分类号 | G02B6/44 |
| 分类 | 光学; |
| 申请人名称 | 杭州富通通信技术股份有限公司 |
| 申请人地址 | 浙江省杭州市富阳区银湖开发区 |
专利法律状态
2023-10-20
授权
状态信息
授权
2018-11-27
实质审查的生效
状态信息
实质审查的生效;IPC(主分类):G02B6/44;申请日:20180629
2018-11-02
公布
状态信息
公布
摘要
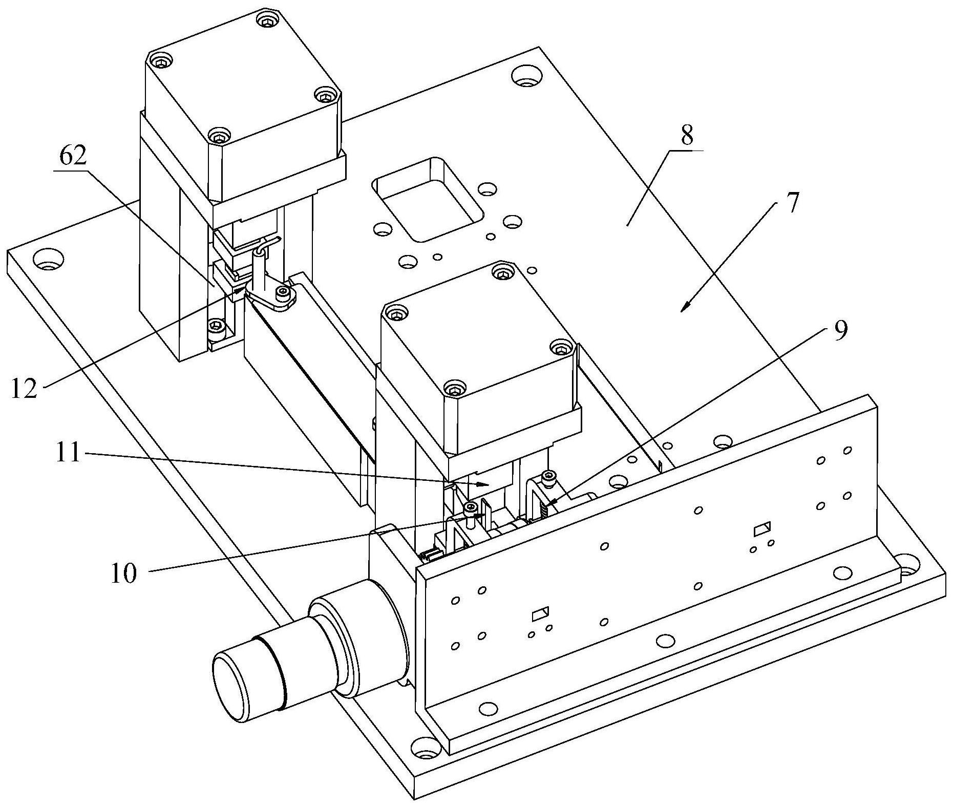
本申请公开了一种用于蝶缆的切剥装置,包括:基架;牵引机构,用于牵引输送蝶缆;分离机构,用于使蝶缆的本体部分和吊线部分相分离;剥离机构,用于剥离从分离机构出来的本体部分的护套和加强元件;冲截机构,用于截断从分离机构出来的吊线部分;控制器,用于各机构工作。本申请通过牵引机构能够输送蝶缆,通过分离机构能够将来自牵引机构的蝶缆分割,然后通过冲截机构对分离后的吊线部分进行裁切操作,将一段吊线部分切断,通过剥离机构对分离后的本体部分进行剥纤操作,得到一段裸光纤。本申请的切剥装置能够实现机械化作业,相对于现有人工操作而言,能够降低劳动强度、提高生产效率、保证有较稳定的切剥质量。


