授权公布号:CN204775714U
电动平衡车
失效
申请
2015-05-28
申请公布
1970-01-01
授权
2015-11-18
预估到期
2025-05-28
| 申请号 | CN201520355453.6 |
| 申请日 | 2015-05-28 |
| 授权公布号 | CN204775714U |
| 授权公告日 | 2015-11-18 |
| 分类号 | B62K11/00 |
| 分类 | 无轨陆用车辆; |
| 申请人名称 | 深圳市鳄鱼平衡车有限公司 |
| 申请人地址 | 广东省深圳市龙岗区坂田街道新雪社区上雪科工业城北区8号A栋602 |
专利法律状态
2023-06-09
专利权的终止
状态信息
未缴年费专利权终止;IPC(主分类):B62K11/00;申请日:20150528;授权公告日:20151118
2015-11-18
授权
状态信息
授权
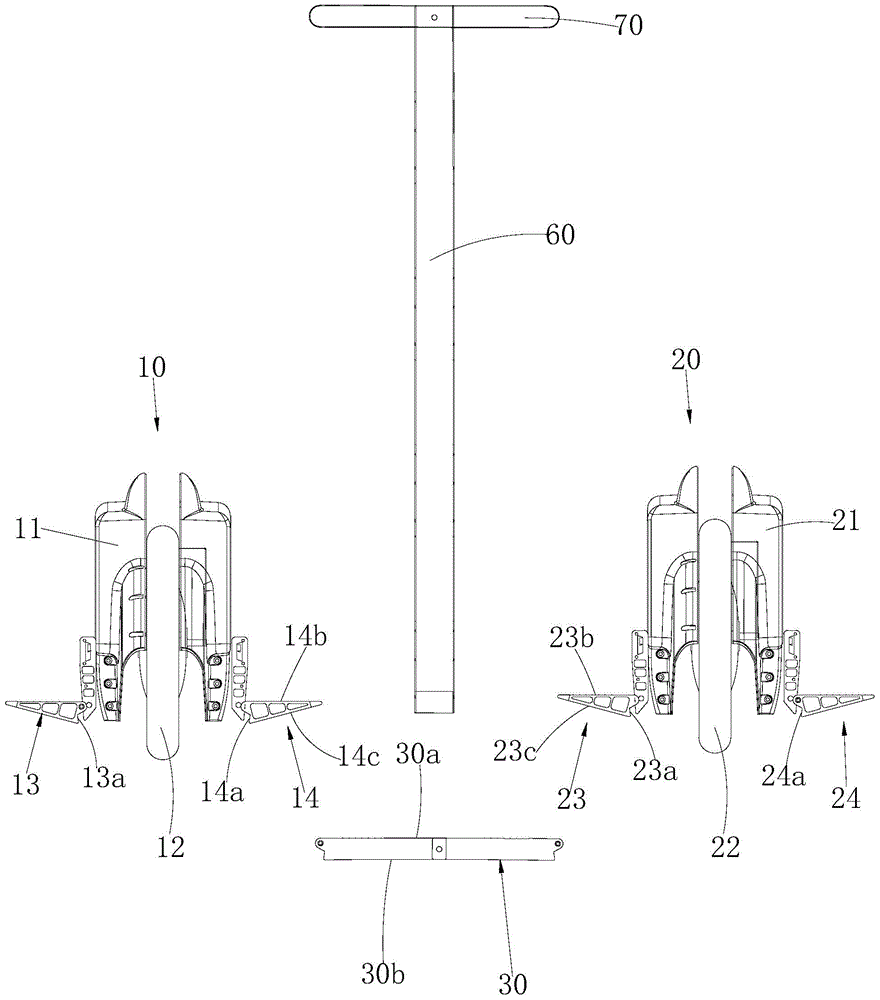
摘要
本实用新型属于平衡车领域,尤其涉及一种电动平衡车,旨在解决现有独轮平衡车和双轮平衡车难以实现互换引起用户只有同时拥有两类平衡车才能满足对不同平衡车使用需求的技术问题。第一独轮车与第二独轮车相间隔设置,在第一独轮车的第二踏板及第二独轮车的第三踏板之间可拆卸地安装有支撑板,采用第一紧固件与第二紧固件将支撑板固定安装在第二踏板与第三踏板上,支撑板上还安装有支撑杆组,此时装配出双轮平衡车。在需要独轮平衡车时,通过拆卸即可得到两台独轮车。实现独轮平衡车和双轮平衡车的互换,避免用户只有同时拥有两类平衡车才能满足对不同平衡车的使用需求。


