授权公布号:CN213516482U
一种湖泊污泥探测取样设备
有效
申请
2020-10-30
申请公布
1970-01-01
授权
2021-06-22
预估到期
2030-10-30
| 申请号 | CN202022462899.2 |
| 申请日 | 2020-10-30 |
| 授权公布号 | CN213516482U |
| 授权公告日 | 2021-06-22 |
| 分类号 | G01N1/14;C02F1/28 |
| 分类 | 测量;测试; |
| 申请人名称 | 湖北天蓝地绿生态科技股份有限公司 |
| 申请人地址 | 湖北省仙桃市龙华山办事处大新路56号城市广场第29层 |
专利法律状态
2024-01-26
专利权质押登记、变更及注销
状态信息
专利权质押登记;IPC(主分类):G01N1/14;专利号:ZL2020224628992;登记号:Y2024980000856;登记日:20240109;出质人:湖北天蓝地绿生态科技股份有限公司;质权人:汉口银行股份有限公司仙桃支行;实用新型名称:一种湖泊污泥探测取样设备;申请日:20201030;授权公告日:20210622
2021-06-22
授权
状态信息
授权
摘要
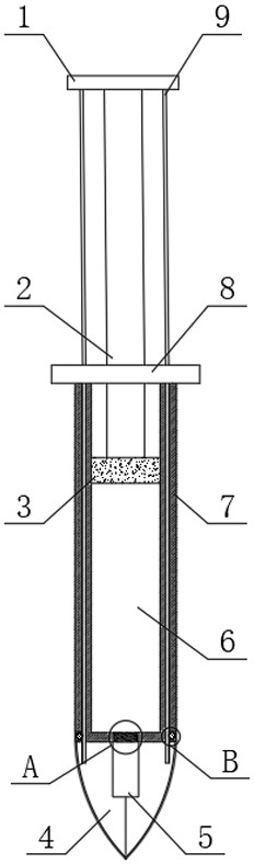
本实用新型属于大面积水体污泥探测取样设备,尤其是一种湖泊污泥探测取样设备,针对现有的湖泊污泥探测取样设备在进行取样工作的时候,容易降低了检测分析的结果、耽误了取样时间的问题,现提出如下方案,通过连接柱、梯形锯齿柱和旋转齿轮,可以带动两个弧形采样挖铲进行展开工作和闭合收集工作,从而可以更好地对湖泊的土壤进行收集采样工作,同时通过吸水管、真空蓄水槽、推杆和密封塞,可以更好地对湖泊的湖水进行采样收集,从而方便工作人员对湖泊的湖水进行检测分析工作,另外再通过活性炭吸附过滤装置,可以更好地对湖水进行过滤工作,从而避免收集的湖水掺杂土壤,这样不仅提高了检测分析的结果,而且还节约取样时间。


