授权公布号:CN212024927U
一种新型水泥污水曝气池
有效
申请
2019-12-27
申请公布
1970-01-01
授权
2020-11-27
预估到期
2029-12-27
| 申请号 | CN201922398968.5 |
| 申请日 | 2019-12-27 |
| 授权公布号 | CN212024927U |
| 授权公告日 | 2020-11-27 |
| 分类号 | C02F7/00 |
| 分类 | 水、废水、污水或污泥的处理; |
| 申请人名称 | 湖北天蓝地绿生态科技股份有限公司 |
| 申请人地址 | 湖北省仙桃市龙华山办事处大新路56号城市广场第29层 |
专利法律状态
2024-01-26
专利权质押登记、变更及注销
状态信息
专利权质押登记;IPC(主分类):C02F7/00;专利号:ZL2019223989685;登记号:Y2024980000856;登记日:20240109;出质人:湖北天蓝地绿生态科技股份有限公司;质权人:汉口银行股份有限公司仙桃支行;实用新型名称:一种新型水泥污水曝气池;申请日:20191227;授权公告日:20201127
2020-11-27
授权
状态信息
授权
摘要
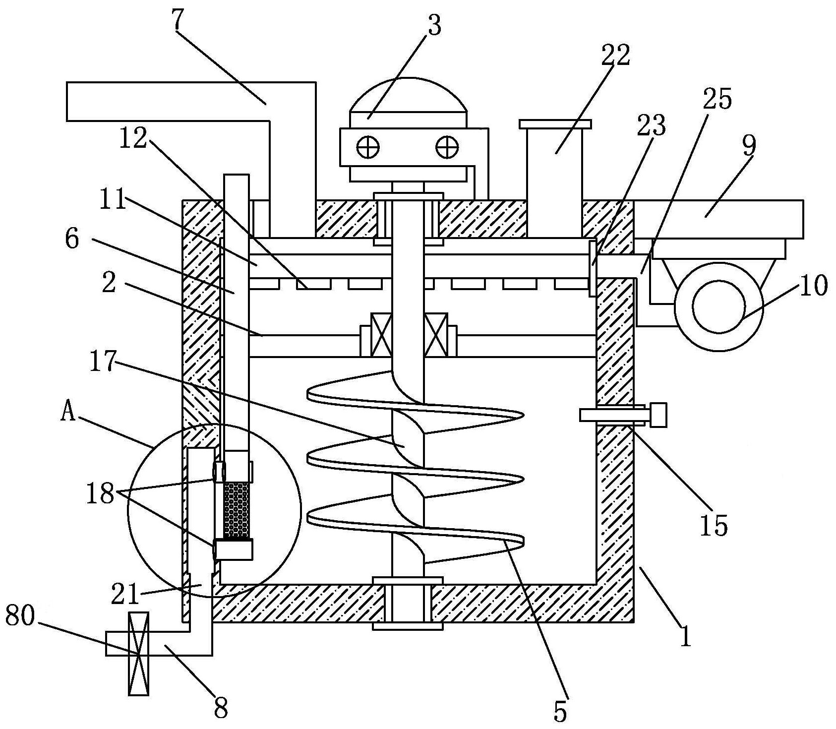
本实用新型提供的一种新型水泥污水曝气池,包括预制水泥箱,所述预制水泥箱的顶部设置有电机,所述电机的输出端固定连接有转杆,所述转杆远离电机的一端向预制水泥箱内延伸,所述转杆延伸的一端侧壁上固定连接有搅拌叶,所述预制水泥箱侧部设置有两个排水口,两排水口与埋设在预制水泥箱侧壁内的排水管连通,所述预制水泥箱的顶部设置有进水管,所述预制水泥箱的一侧外壁上固定连接有支撑板,所述支撑板上固定连接有罗茨风机,所述罗茨风机的输出端通过连接管与设置在预制水泥箱内的曝气管连接。该种新型水泥污水曝气池,通过搅拌结构的设置能够对污水进行搅拌处理增加处理效率,减少处理时间,在污水处理时能够对污水进行增氧,节约了二次增氧时间。


