授权公布号:CN211635367U
一种旋流沉淀池
有效
申请
2019-12-02
申请公布
1970-01-01
授权
2020-10-09
预估到期
2029-12-02
| 申请号 | CN201922119824.1 |
| 申请日 | 2019-12-02 |
| 授权公布号 | CN211635367U |
| 授权公告日 | 2020-10-09 |
| 分类号 | B01D21/26 |
| 分类 | 一般的物理或化学的方法或装置; |
| 申请人名称 | 湖北天蓝地绿生态科技股份有限公司 |
| 申请人地址 | 湖北省仙桃市龙华山办事处大新路56号城市广场第29层 |
专利法律状态
2024-01-26
专利权质押登记、变更及注销
状态信息
专利权质押登记;IPC(主分类):B01D21/26;登记号:Y2024980000856;登记日:20240109;出质人:湖北天蓝地绿生态科技股份有限公司;质权人:汉口银行股份有限公司仙桃支行;实用新型名称:一种旋流沉淀池;申请日:20191202;授权公告日:20201009
2020-10-09
授权
状态信息
授权
摘要
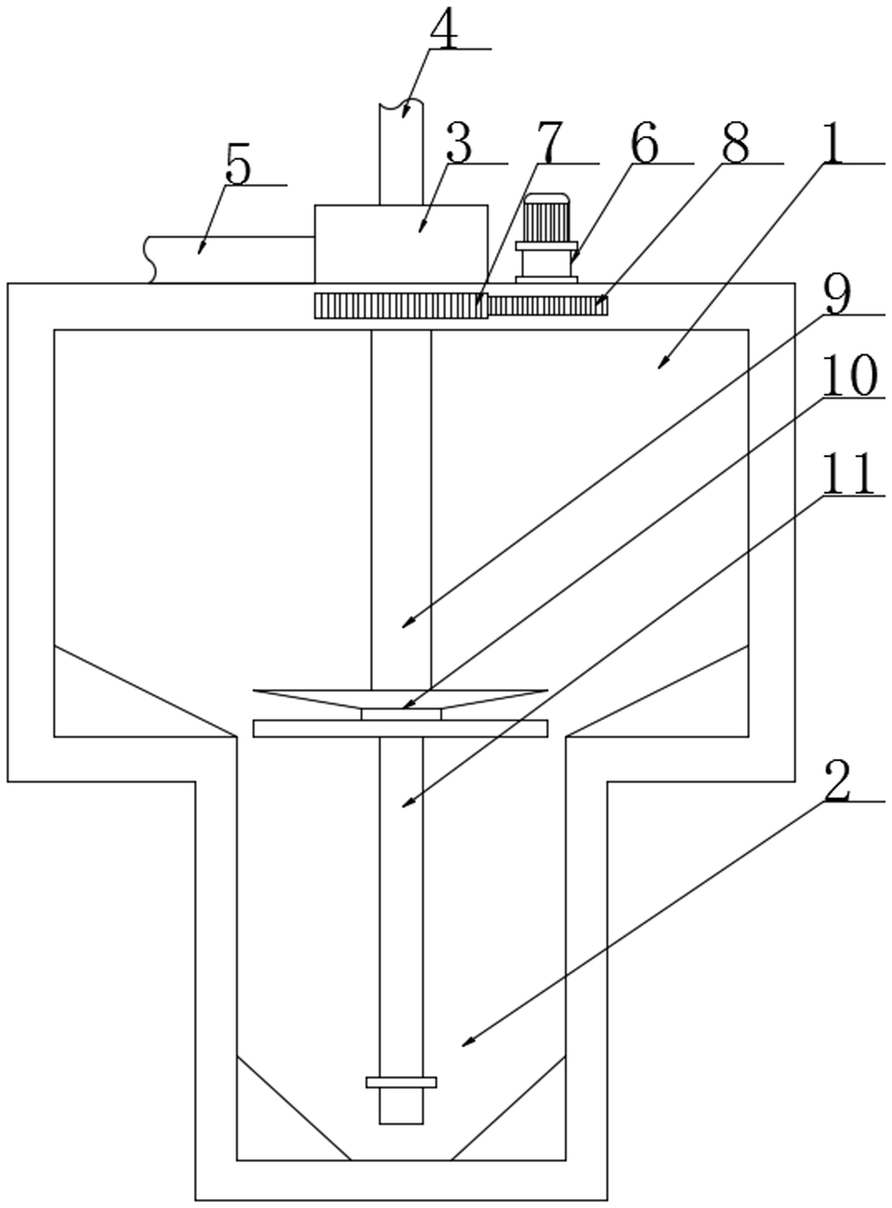
本实用新型实施例公开了一种旋流沉淀池,具体涉及沉淀池领域,包括分选池,所述分选池的底端设置有沉淀池,所述分选池与沉淀池相连通,所述分选池的顶端固定安装有收集箱,本实用新型通过设置第一输送管、第二输送管和挡片,在使用时,通过第一输送管进行输送,第一输送管一端设置有筛片,会将颗粒较大的沉淀物滞留在收集箱内,当第一输送管输送完毕后,关闭第一输送管一端的气泵,这时内管会受重力的影响,回到原位,这时启动第二输送管的气泵,同时将挡片一侧的固定钮拉出,挡片会气压的影响会绕着铰链向内移动,从而将第二输送管的一端打开,将收集箱内剩余颗粒较大的沉淀物抽走,从而颗粒物的大小进行筛分,较为方便。


