授权公布号:CN213980479U
一种门窗框体结构
有效
申请
2020-11-16
申请公布
1970-01-01
授权
2021-08-17
预估到期
2030-11-16
| 申请号 | CN202022655109.2 |
| 申请日 | 2020-11-16 |
| 授权公布号 | CN213980479U |
| 授权公告日 | 2021-08-17 |
| 分类号 | E06B3/58 |
| 分类 | 一般门、窗、百叶窗或卷辊遮帘;梯子; |
| 申请人名称 | 佛山市英辉铝型材有限公司 |
| 申请人地址 | 广东省佛山市三水中心科技工业区范湖官地区5号(F1-F5、F7-F8) |
专利法律状态
2021-08-17
授权
状态信息
授权
摘要
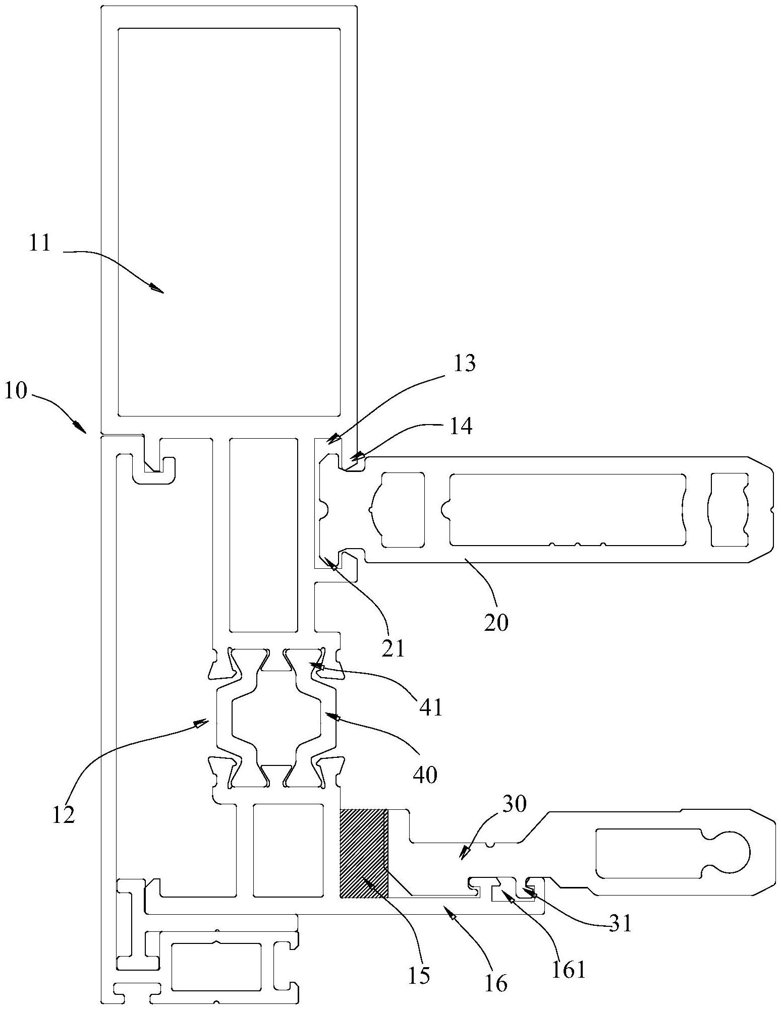
本实用新型公开了一种门窗框体结构,包括框体、第一连接件以及第二连接件,所述框体的前端形成为加强部,所述框体的后端设有连接槽,所述连接槽的靠近加强部的侧壁端面设有安装槽,所述连接槽的远离加强部的侧壁端面设有胶液层,所述第一连接件的一端形成为第一连接端,第一连接件的另一端形成为第一安装端,第一连接端以拆卸的方式安装于所述安装槽内;所述第二连接件的一端形成为第二连接端,所述第二连接件的另一端形成为第二安装端,第二连接端与胶液层粘接;第一安装端与第二安装端间隔设置。本实用新型的门窗框体结构,其可相对收窄框体的宽度,且框体强度相对较强。


