授权公布号:CN114084255B
防积水的滑板车座椅
有效
申请
2021-11-23
申请公布
2022-02-25
授权
2023-12-22
预估到期
2041-11-23
| 申请号 | CN202111391538.6 |
| 申请日 | 2021-11-23 |
| 申请公布号 | CN114084255A |
| 申请公布日 | 2022-02-25 |
| 授权公布号 | CN114084255B |
| 授权公告日 | 2023-12-22 |
| 分类号 | B62J1/08;B62J1/02 |
| 分类 | 无轨陆用车辆; |
| 申请人名称 | 南京快轮智能科技有限公司 |
| 申请人地址 | 江苏省南京市经济技术开发区红枫科技园B4栋第二层 |
专利法律状态
2023-12-22
授权
状态信息
授权
2022-02-25
公布
状态信息
公布
摘要
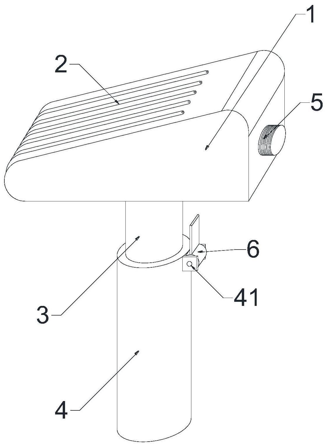
本发明公开了防积水的滑板车座椅,包括坐垫,所述坐垫表面嵌入设置有导流槽,所述坐垫内嵌入设置有输出端和导流槽相连通的注气腔,所述注气腔通过按压向导流槽中沿导流槽延伸方向注气,所述坐垫底部通过支撑杆滑动连接设置有套筒,所述套筒上转动连接有用于锁定支撑杆和套筒相对位置的转动轴。本发明在坐垫上通过设置导流槽,可以将雨水分离,部分雨水进入到导流槽中,这样更加容易干燥,若是雨水较多并积留在导流槽内,通过按压注气腔,可以向导流槽上注气,气体沿着导流槽内吹动,从而将导流槽内积水吹走,同时促进导流槽内干燥,整体操作简单,且无需电源即可简单快速的完成积水清理干燥,在高温天气下,还可以快速对进行降温,方便骑行。


