授权公布号:CN216453026U
一种腊肉制作挂晒均匀的装置
有效
申请
2022-02-09
申请公布
1970-01-01
授权
2022-05-10
预估到期
2032-02-09
| 申请号 | CN202220257514.5 |
| 申请日 | 2022-02-09 |
| 授权公布号 | CN216453026U |
| 授权公告日 | 2022-05-10 |
| 分类号 | A22C15/00;A23B4/03 |
| 分类 | 屠宰;肉品处理;家禽或鱼的加工; |
| 申请人名称 | 湖北省思乐牧业集团有限公司 |
| 申请人地址 | 湖北省恩施土家族苗族自治州恩施市叶挺路111号 |
专利法律状态
2022-05-10
授权
状态信息
授权
摘要
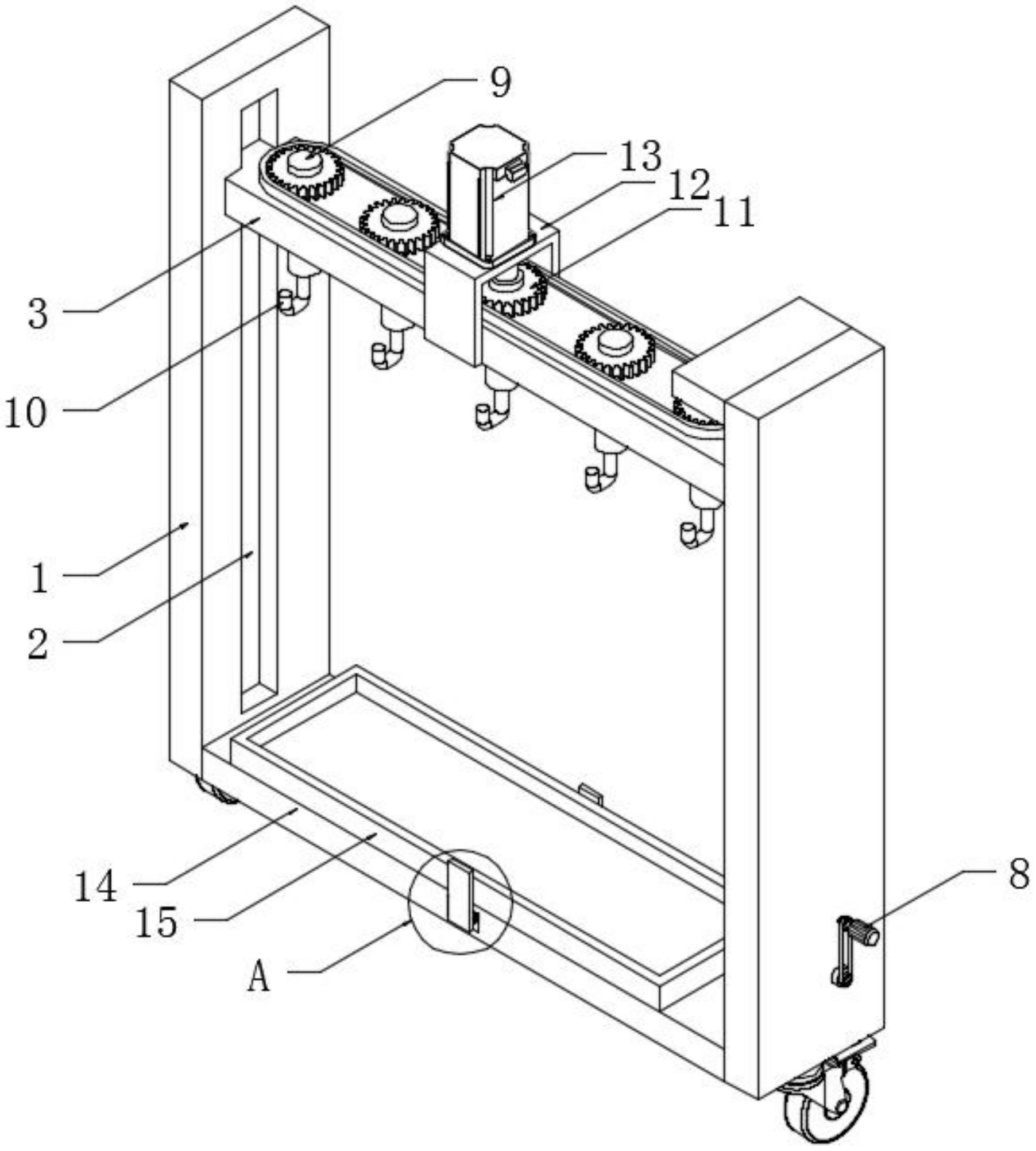
本实用新型公开了一种腊肉制作挂晒均匀的装置,包括两个支撑板,其中一个支撑板的一侧开设有限位槽,限位槽的内壁滑动设有晾晒板,另一个支撑板一侧的上部固定设有连接座,连接座的底部转动设有丝杆,丝杆表面的一端穿插设有蜗杆,另一个支撑板一侧的下部穿插设有转动轴,转动轴的一端固定设有蜗轮,蜗轮的表面与蜗杆的表面啮合连接,本实用新型通过设置限位槽、晾晒板、连接座、丝杆、蜗杆、蜗轮、把手、转轴、挂钩、齿轮、支撑座和减速电机共同构成升降、旋转机构,此机构便于对腊肉进行高度调节,从而挂上、取下腊肉,实现腊肉的同步旋转,使得晾晒更加均匀,提高了腊肉的品质。


