授权公布号:CN217303520U
六合一多功能中药加工一体机
有效
申请
2022-03-02
申请公布
1970-01-01
授权
2022-08-26
预估到期
2032-03-02
| 申请号 | CN202220457297.4 |
| 申请日 | 2022-03-02 |
| 授权公布号 | CN217303520U |
| 授权公告日 | 2022-08-26 |
| 分类号 | F26B21/00;F26B21/08;F26B25/00;A61L2/10;B08B3/12 |
| 分类 | 干燥; |
| 申请人名称 | 湖北神农本草中药饮片有限公司 |
| 申请人地址 | 湖北省十堰市房县城关镇晓阳工业区 |
专利法律状态
2022-08-26
授权
状态信息
授权
摘要
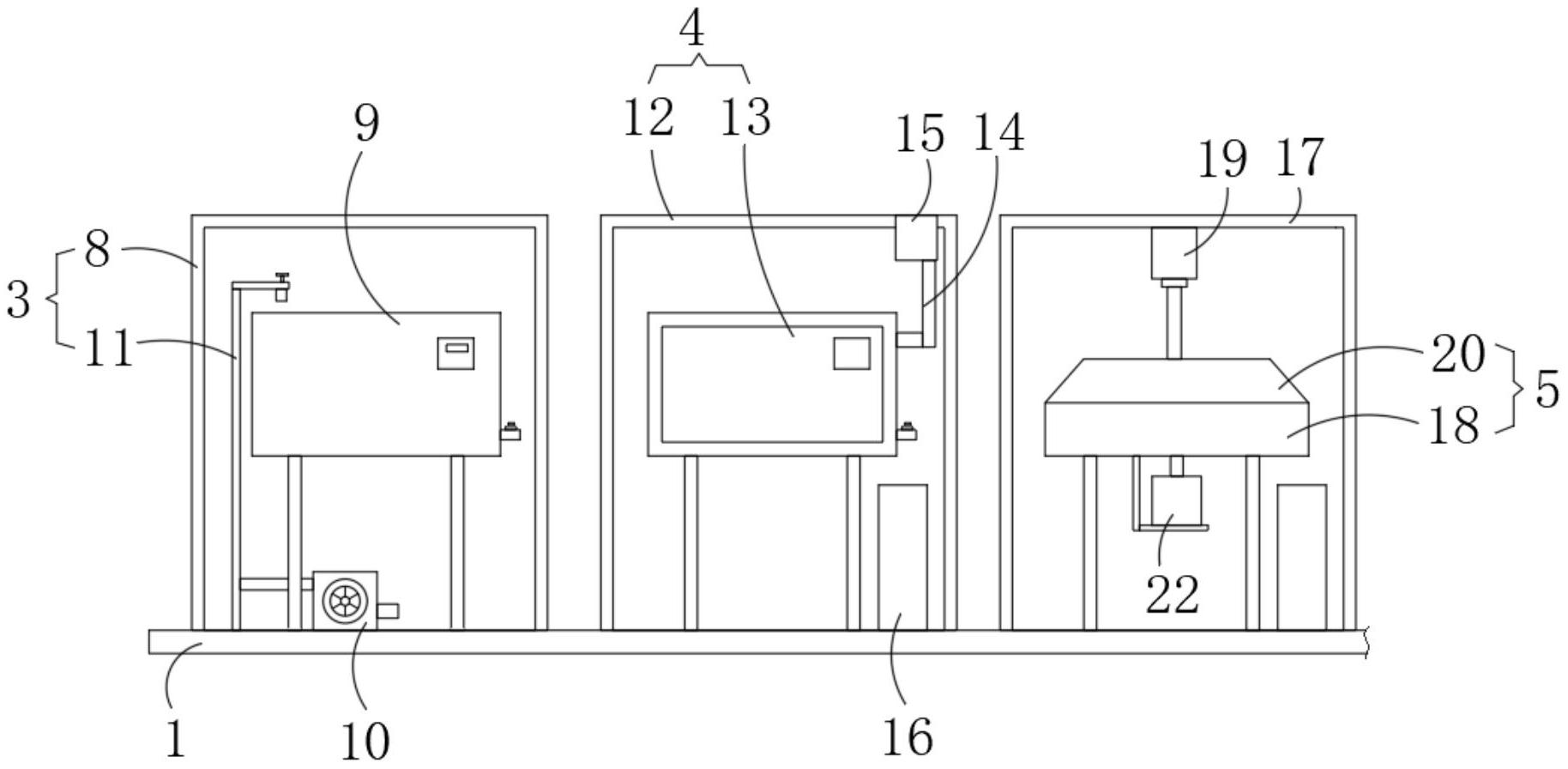
本实用新型公开了六合一多功能中药加工一体机,包括底座,所述底座顶部的一侧安装有履带输送机,所述底座顶部的另一侧安装有清洗机构,所述底座的顶部且位于清洗机构的背面安装有烘干机构,所述底座的顶部且位于烘干机构的背面安装有消毒机构,所述底座的顶部且位于消毒机构的背面安装有粉碎组件;本实用新型通过设置清洗机构、烘干机构、消毒机构、粉碎组件和称重机构,分别具备清洗、烘干、消毒、粉碎、研磨和称重的功能,实现了集多功能为一体的目的,进而提高了药材的加工效率;设置履带输送机能够用于对待加工的药材进行运输,提高了便捷程度,达到了省时省力的目的。


