授权公布号:CN214644410U
一种高灵活度木质家具生产设备
有效
申请
2021-01-19
申请公布
1970-01-01
授权
2021-11-09
预估到期
2031-01-19
| 申请号 | CN202120134135.2 |
| 申请日 | 2021-01-19 |
| 授权公布号 | CN214644410U |
| 授权公告日 | 2021-11-09 |
| 分类号 | B27C5/02;B27C5/06 |
| 分类 | 木材或类似材料的加工或保存;一般钉钉机或钉U形钉机; |
| 申请人名称 | 深圳市卓亿家具有限公司 |
| 申请人地址 | 广东省深圳市坪山区坑梓街道秀新社区梓兴路62号卓亿家具A101 |
专利法律状态
2021-11-09
授权
状态信息
授权
摘要
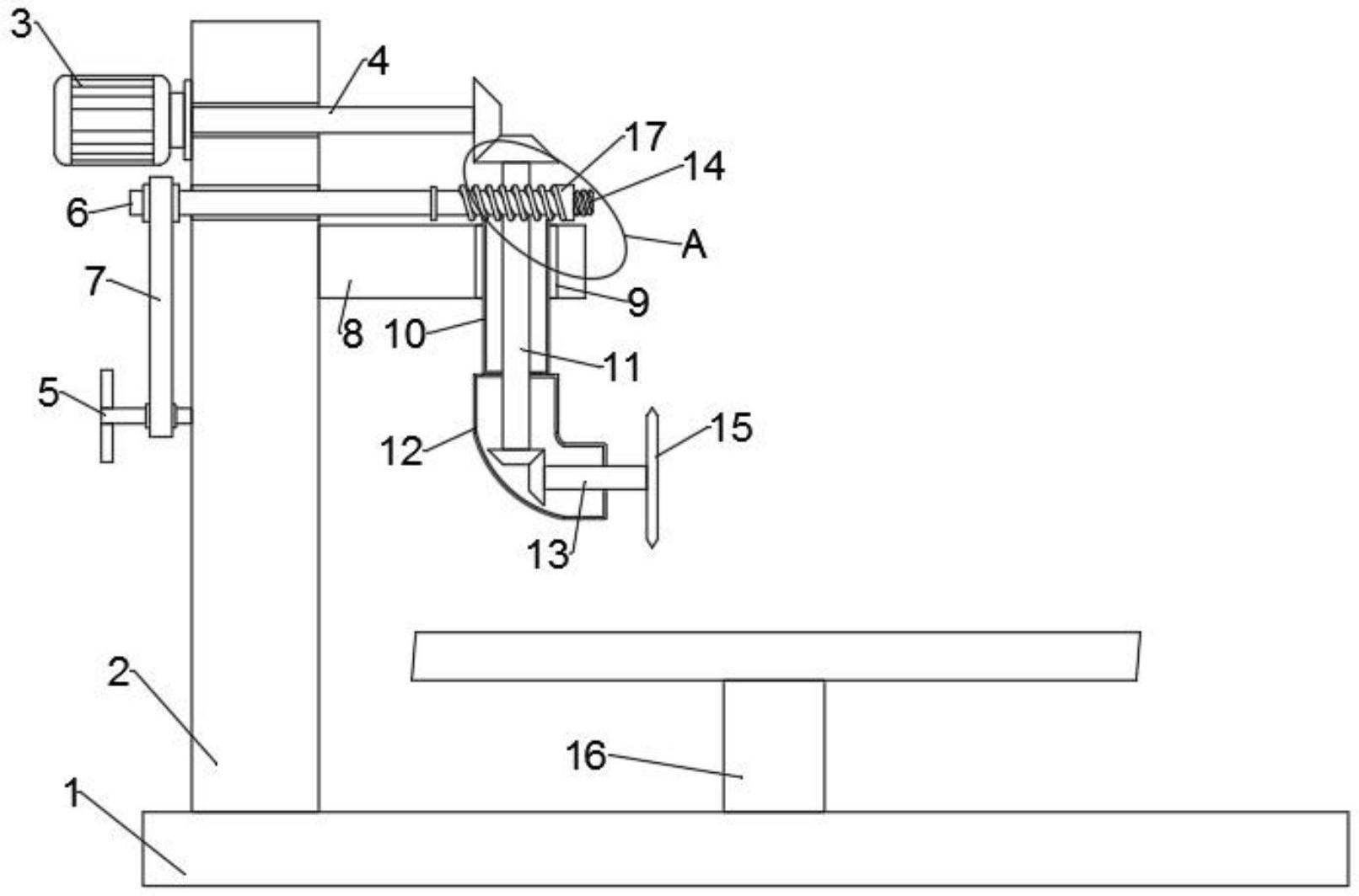
本实用新型公开了一种高灵活度木质家具生产设备,包括底座和固定装置,所述底座顶部固定连接有加工柱,所述固定装置固定连接在底座的顶部,所述加工柱外侧壁固定连接有驱动电机,所述驱动电机输出端固定连接有输出轴。本实用新型通过底座、加工柱、驱动电机、输出轴、主动轴、从动轴、皮带、支撑板、连接口的配合使用,通过驱动电机可以带动切割刀片转动,从而可以对固定装置上的加工木材进行加工,通过拨动转动手柄,可以在转动齿轮和外齿轴的配合作用下带动转动筒转动,从而带动弧形筒转动,进而使得切割刀片以转动筒为中心转动,解决了需要人工调整切割刀片的角度的问题,提高了装置的实用性。


