授权公布号:CN210840415U
一种服务器放置装置
有效
申请
2019-05-08
申请公布
1970-01-01
授权
2020-06-23
预估到期
2029-05-08
| 申请号 | CN201920652239.5 |
| 申请日 | 2019-05-08 |
| 授权公布号 | CN210840415U |
| 授权公告日 | 2020-06-23 |
| 分类号 | H05K7/14 |
| 分类 | 其他类目不包含的电技术; |
| 申请人名称 | 郑州市景安网络科技股份有限公司 |
| 申请人地址 | 河南省郑州市自贸试验区郑州片区(经开)第五大街172号二层北2号 |
专利法律状态
2020-06-23
授权
状态信息
授权
摘要
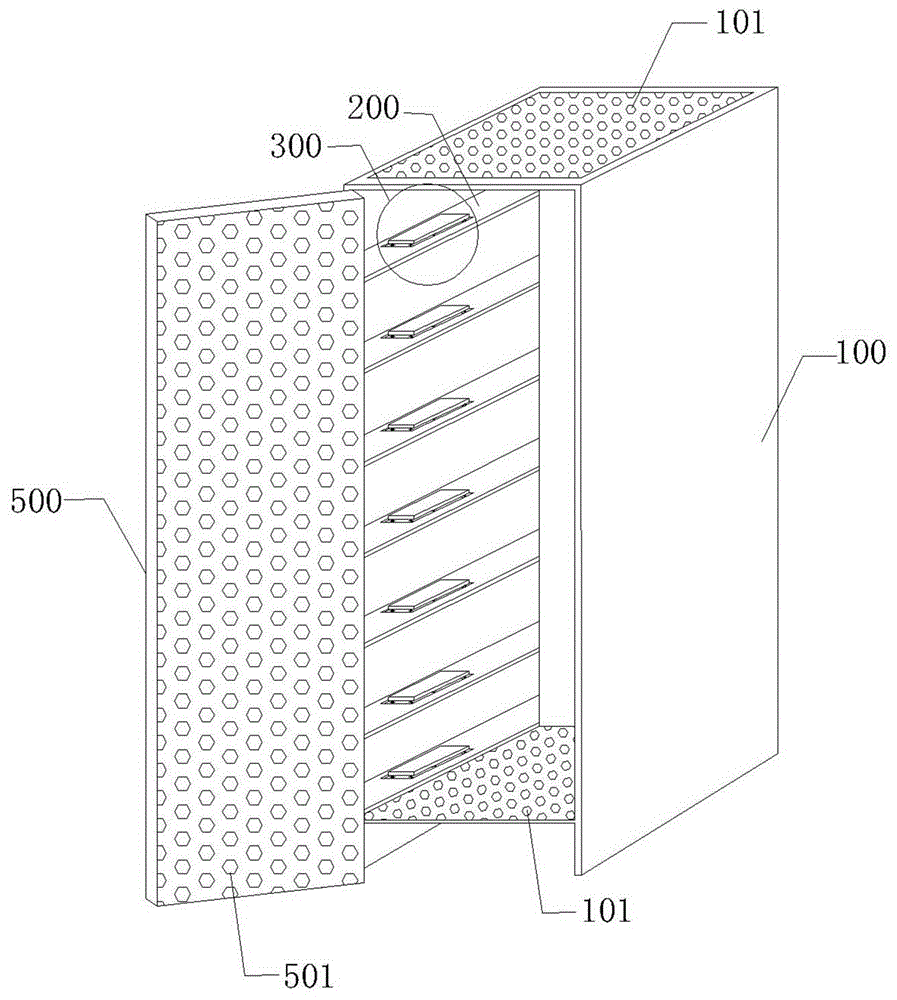
本实用新型涉及服务器的辅助放置装置技术领域,具体涉及一种服务器放置装置。该放置装置包括:壳体,在所述壳体内壁两端至少设置一对用于支撑服务器的支撑架,在所述支撑架上靠近所述服务器的一侧设有减振结构,所述减振结构包括设置于所述支撑架上的凹槽、设置于所述凹槽中的弹性件和设置于所述弹性件远离所述凹槽的一端的支撑板;在所述弹性件由于所述服务器的重力作用处于压缩状态下,所述支撑板远离所述弹性件的一侧高于所述支撑架靠近所述支撑板的一侧。在服务器的重力作用下,支撑板压缩弹性件,支撑板的表面高于支撑架的表面,以使服务器与支撑架不直接接触,通过弹性件衰减外界输入的能量,减轻支撑架或者防止支撑架的共振。


