授权公布号:CN215138547U
一种室内甲醛喷雾处理装置
有效
申请
2021-04-22
申请公布
1970-01-01
授权
2021-12-14
预估到期
2031-04-22
| 申请号 | CN202120832639.1 |
| 申请日 | 2021-04-22 |
| 授权公布号 | CN215138547U |
| 授权公告日 | 2021-12-14 |
| 分类号 | B01D53/78;B01D53/72 |
| 分类 | 一般的物理或化学的方法或装置; |
| 申请人名称 | 北京中欧普瑞科技有限公司 |
| 申请人地址 | 北京市通州区口子村东1号院85号楼2层101 |
专利法律状态
2021-12-14
授权
状态信息
授权
摘要
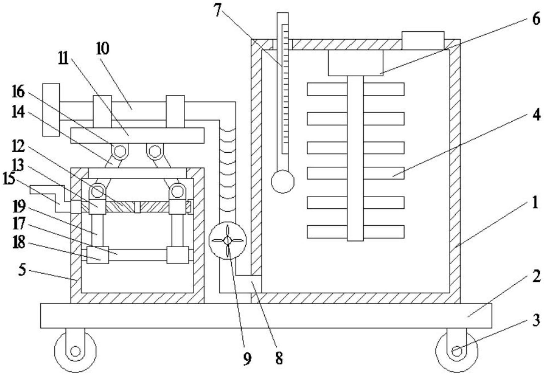
本实用新型提供了一种室内甲醛喷雾处理装置,涉及甲醛处理技术领域。包括料筒和底座,其特征在于,所述料筒固定设置在所述底座上部,所述料筒内部设置有搅拌棒,所述搅拌棒通过电机带动,所述料筒内设置有水位监测装置,所述料筒下部连接水管,所述水管设置有水泵,所述水管顶端设置有喷头,所述喷头放置在置放架上部,所述置放架下部设置有升降机构。本实用新型实现了高效对室内甲醛的处理。


