授权公布号:CN212157995U
一种采用空气能热泵烘烤香肠的装置
有效
申请
2020-04-14
申请公布
1970-01-01
授权
2020-12-15
预估到期
2030-04-14
| 申请号 | CN202020547010.8 |
| 申请日 | 2020-04-14 |
| 授权公布号 | CN212157995U |
| 授权公告日 | 2020-12-15 |
| 分类号 | F26B11/18 |
| 分类 | 干燥; |
| 申请人名称 | 云南宣威火腿集团有限责任公司 |
| 申请人地址 | 云南省曲靖市宣威市宛水街道南岩村142号 |
专利法律状态
2020-12-15
授权
状态信息
授权
摘要
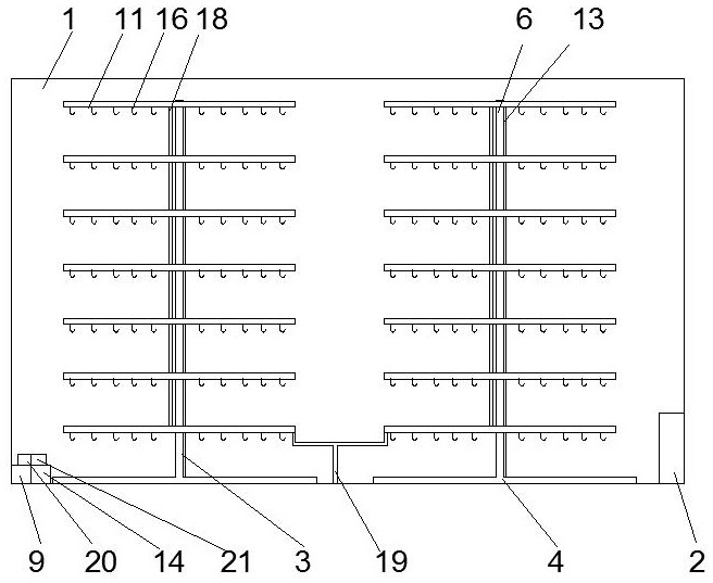
本实用新型公开了一种采用空气能热泵烘烤香肠的装置,包括烘烤车间,所述烘烤车间内设置有空气能热泵;烘烤车间内放置有烘烤架,烘烤架包括底座、固定杆;底座上设置有固定杆,固定杆的外部设置有套杆,套杆设置为中空结构,套杆内壁与固定杆外壁贴合设置,底座上开有环形的旋转槽,旋转槽中间固定设置有固定杆,旋转槽内设置有套杆,套杆上转动设置有转轴,转轴与旋转电机电连接,旋转电机设置在烘烤车间侧壁;套杆上设置有移动卡槽,移动卡槽内设置有固定盘,移动卡槽内设置有移动块,固定盘设置为圆环状,移动块设置在固定盘的圆环内壁上,移动块底壁上连接设置有伸缩杆,伸缩杆与驱动电机电连接。解决香肠不易快速风干的问题。


