授权公布号:CN218303571U
一种带隐藏腰绳的运动型校服
有效
申请
2022-07-27
申请公布
1970-01-01
授权
2023-01-17
预估到期
2032-07-27
| 申请号 | CN202222001523.0 |
| 申请日 | 2022-07-27 |
| 授权公布号 | CN218303571U |
| 授权公告日 | 2023-01-17 |
| 分类号 | A41D29/00;A41D11/00;A41D13/01;A41D1/06;A41D13/06;A41D27/26;A41D27/12;A41D27/10;A41D27/20;A41F9/02 |
| 分类 | 服装; |
| 申请人名称 | 河南天曼服饰有限公司 |
| 申请人地址 | 河南省南阳市内乡县工业园区 |
专利法律状态
2023-01-17
授权
状态信息
授权
摘要
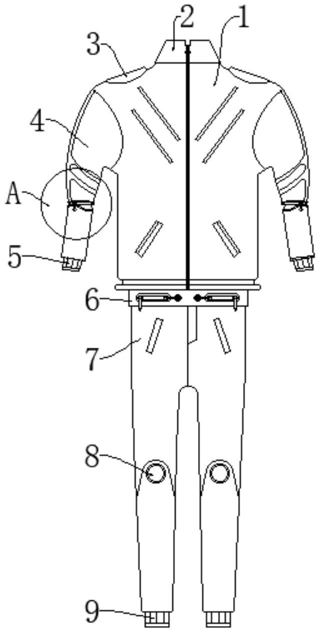
本实用新型公开了一种带隐藏腰绳的运动型校服,包括校服上衣和校服裤,所述校服上衣的肩部设有肩垫,所述校服上衣的上方设有立领式领口,所述校服上衣的两侧设有衣袖,所述衣袖的端部设有可拆卸袖头,所述校服裤的顶部设有腰带,所述腰带上设有腰绳隐藏套,所述校服裤的膝盖处正面设有膝盖护垫。该实用新型设为运动式校服,采用拉链控制校服的打开,使用方便,穿戴快捷,具有一定的松紧度,穿戴舒适,不会影响小中学生的生长发育,在校服上衣的正面设有反光条,可以进行夜间警示保护,在校服上衣的肩部设有肩垫,在衣袖的一侧设有防护层,在校服裤的中部设有膝盖护垫,通过其可以对膝盖进行防护,此种设计的校服可以更好的对学生进行保护。


